首页
专利数据库
产业人才
行业动态
产业政策法规
维权援助
个人中心
登录/注册
详情
文本
图像
标题:
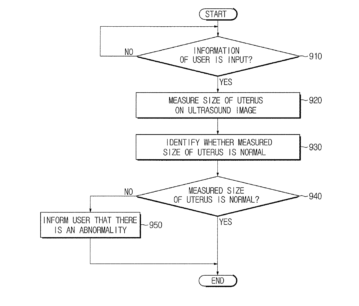
Ultrasound imaging apparatus and control method for the same
授权日:
1900-01-01
公开(公告)号:
US20190247022A1
申请日:
2018-05-14
公开(公告)日:
2019-08-15
当前申请(专利权)人:
SAMSUNG MEDISON CO., LTD.
发明人:
LEE, BONG HEON | SHIN, DONG KUK
简单同族:
EP3524166A1 | KR1020190097849A | US20190247022A1
简单同族成员数量:
3
简单同族被引用专利总数:
0
诉讼案件数:
0
法律状态/事件:
公开 | 权利转移