标题:
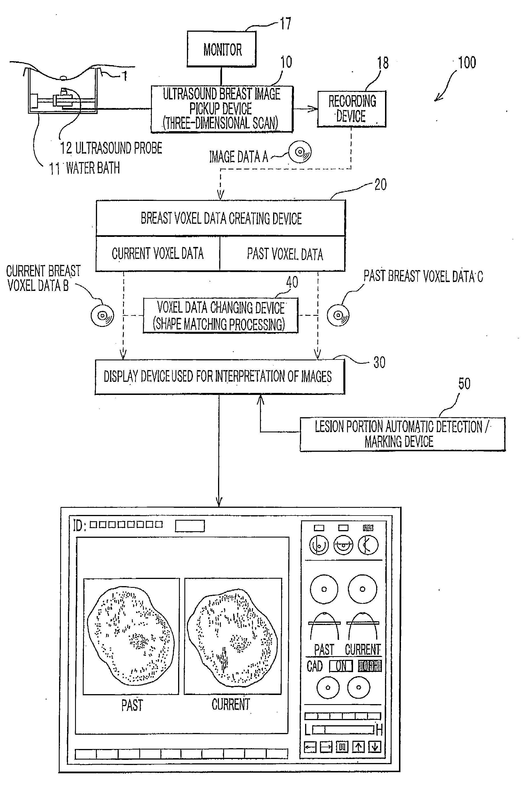
Ultrasound Breast Diagnostic System
授权日:
1900-01-01
公开(公告)号:
US20090264758A1
申请日:
2006-09-27
公开(公告)日:
2009-10-22
当前申请(专利权)人:
ALOKA CO., LTD.
发明人:
FUJITA, HIROSHI | FUKUOKA, DAISUKE | HARA, TAKESHI | KATO, KEIJI | HAYASHI, YOSHINORI
简单同族:
CN101511273A | EP2064996A1 | EP2064996A4 | JP2008073305A | US20090264758A1 | WO2008035445A1
简单同族成员数量:
6
简单同族被引用专利总数:
66
诉讼案件数:
0
法律状态/事件:
撤回 | 权利转移