标题:
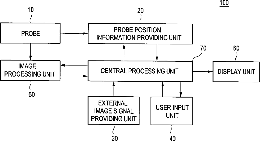
Ultrasound system for fusing an ultrasound image and an external medical image
授权日:
1900-01-01
公开(公告)号:
US20080091106A1
申请日:
2007-10-16
公开(公告)日:
2008-04-17
当前申请(专利权)人:
MEDISON CO., LTD.
发明人:
KIM, CHEOL AN | SHIN, SEONG CHUL
简单同族:
DE602007011858D1 | EP1913875A1 | EP1913875B1 | JP2008100069A | JP5250234B2 | KR100971417B1 | KR1020080034664A | US20080091106A1
简单同族成员数量:
8
简单同族被引用专利总数:
54
诉讼案件数:
0
法律状态/事件:
撤回 | 权利转移