首页
专利数据库
产业人才
行业动态
产业政策法规
维权援助
个人中心
登录/注册
详情
文本
图像
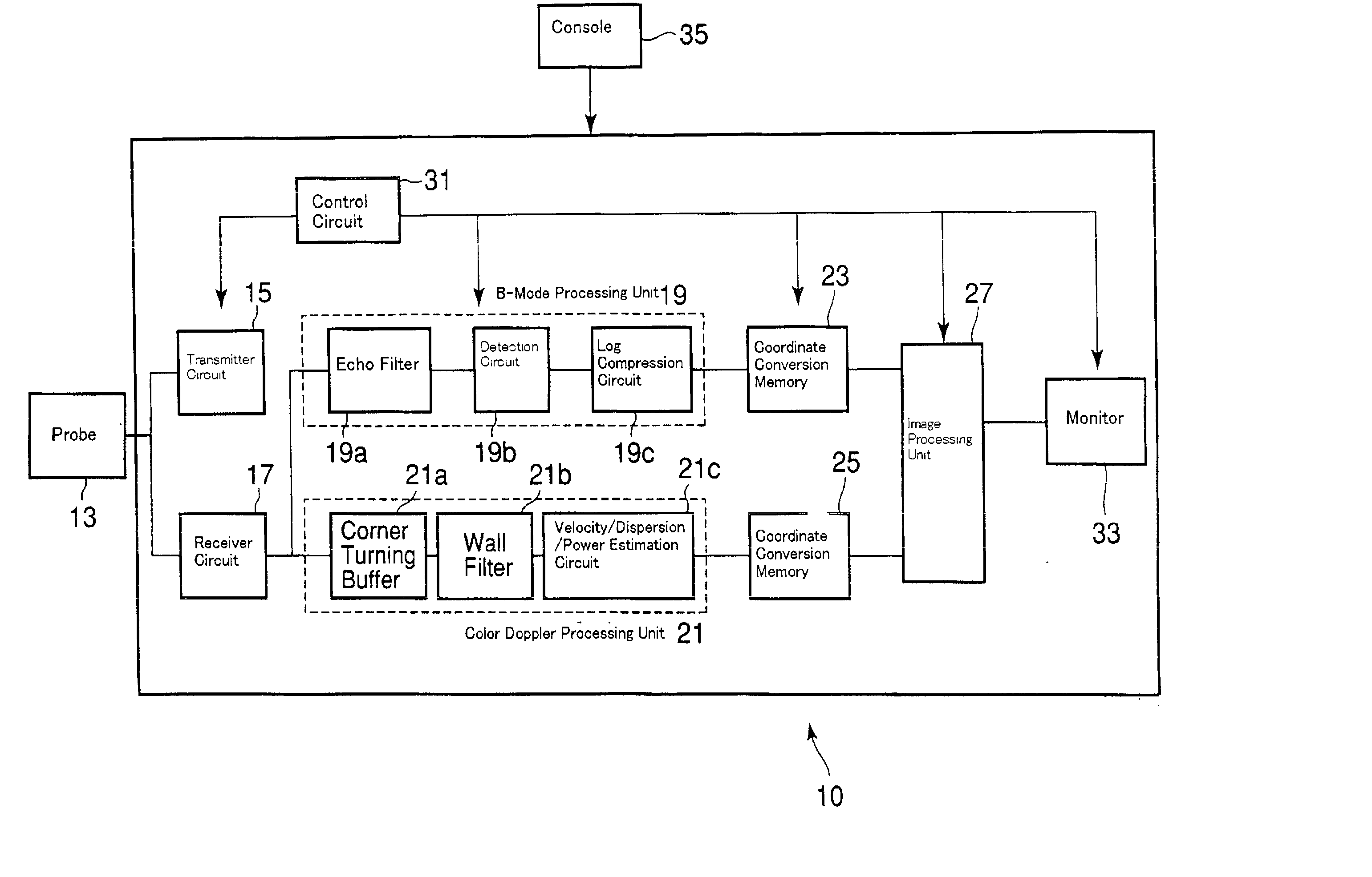
标题:
Apparatus and method for ultrasonic diagnostic imaging using a contrast medium
授权日:
1900-01-01
公开(公告)号:
US20030073903A1
申请日:
2002-09-30
公开(公告)日:
2003-04-17
当前申请(专利权)人:
TOSHIBA MEDICAL SYSTEMS CORPORATION
发明人:
SATO, TAKESHI
简单同族:
JP2003102726A | JP4945040B2 | US20030073903A1 | US6814703
简单同族成员数量:
4
简单同族被引用专利总数:
50
诉讼案件数:
0
法律状态/事件:
授权 | 权利转移