首页
专利数据库
产业人才
行业动态
产业政策法规
维权援助
个人中心
登录/注册
详情
文本
图像
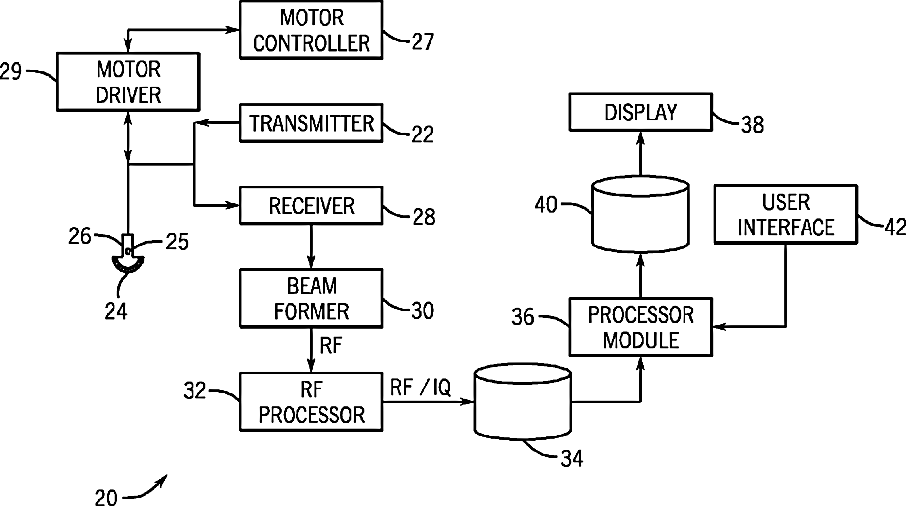
标题:
Motor driver for ultrasound system
授权日:
2011-10-18
公开(公告)号:
US8038619
申请日:
2008-04-30
公开(公告)日:
2011-10-18
当前申请(专利权)人:
GENERAL ELECTRIC COMPANY
发明人:
STEINBACHER, FRANZ
简单同族:
US20090012394A1 | US20090012401A1 | US8038619
简单同族成员数量:
3
简单同族被引用专利总数:
97
诉讼案件数:
0
法律状态/事件:
未缴年费 | 权利转移