首页
专利数据库
产业人才
行业动态
产业政策法规
维权援助
个人中心
登录/注册
详情
文本
图像
标题:
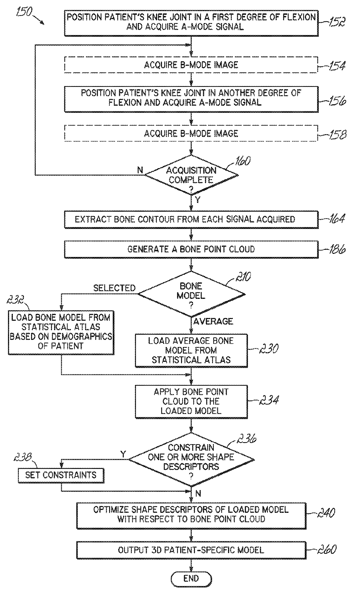
Method and apparatus for three dimensional reconstruction of a joint using ultrasound
授权日:
2019-12-24
公开(公告)号:
US10512451
申请日:
2017-08-23
公开(公告)日:
2019-12-24
当前申请(专利权)人:
JOINTVUE, LLC
发明人:
MAHFOUZ, MOHAMED R.
简单同族:
US10512451 | US20170347991A1 | US20200000436A1
简单同族成员数量:
3
简单同族被引用专利总数:
0
诉讼案件数:
0
法律状态/事件:
授权 | 权利转移