标题:
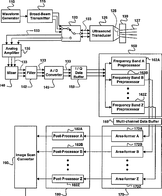
Simultaneous multi-mode and multi-band ultrasonic imaging
授权日:
1900-01-01
公开(公告)号:
US20030078497A1
申请日:
2001-10-20
公开(公告)日:
2003-04-24
当前申请(专利权)人:
SHENZHEN MINDRAY BIO-MEDICAL ELECTRONICS CO., LTD.
发明人:
JI, TING-LAN | MCLAUGHLIN, GLEN
简单同族:
DE10248745A1 | DE10248745B4 | JP2003180687A | US20030078497A1 | US20050131294A1 | US6896658 | US7682309
简单同族成员数量:
7
简单同族被引用专利总数:
104
诉讼案件数:
0
法律状态/事件:
授权 | 质押 | 权利转移