标题:
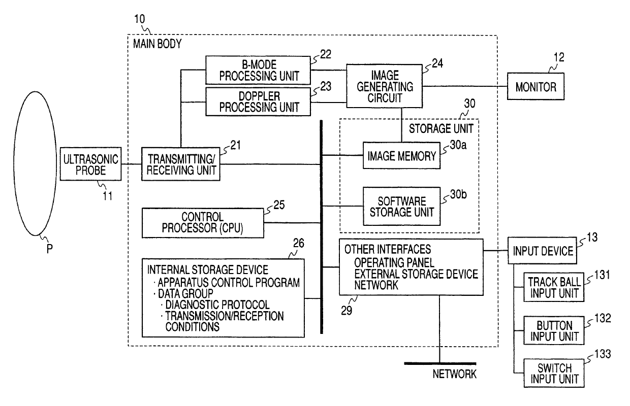
Ultrasonic diagnostic apparatus and method of generating ultrasonic image
授权日:
2019-04-23
公开(公告)号:
US10265053
申请日:
2007-10-30
公开(公告)日:
2019-04-23
当前申请(专利权)人:
TOSHIBA MEDICAL SYSTEMS CORPORATION
发明人:
YOSHIDA, TETSUYA | KAMIYAMA, NAOHISA
简单同族:
CN101309647A | CN101309647B | EP1872724A1 | EP1872724A4 | EP1872724B1 | JP2013059679A | JP2013059679A5 | JP5323275B2 | US10265053 | US20080262354A1 | WO2007080895A1
简单同族成员数量:
11
简单同族被引用专利总数:
46
诉讼案件数:
0
法律状态/事件:
授权 | 权利转移