标题:
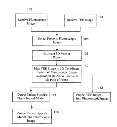
Method and system for registration of ultrasound and physiological models to X-ray fluoroscopic images
授权日:
2017-06-27
公开(公告)号:
US9687204
申请日:
2012-05-18
公开(公告)日:
2017-06-27
当前申请(专利权)人:
SIEMENS HEALTHCARE GMBH
发明人:
MOUNTNEY, PETER | KAISER, MARKUS | VOIGT, INGMAR | JOHN, MATTHIAS | IONASEC, RAZVAN IOAN | BOESE, JAN | COMANICIU, DORIN
简单同族:
US20120296202A1 | US9687204
简单同族成员数量:
2
简单同族被引用专利总数:
49
诉讼案件数:
0
法律状态/事件:
授权 | 权利转移