标题:
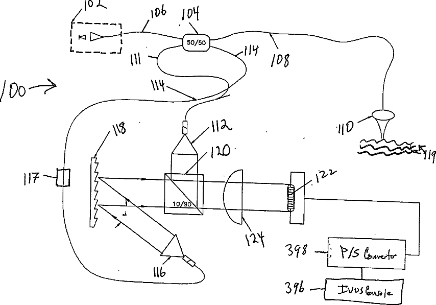
Systems and methods for processing signals from an interferometer by an ultrasound console
授权日:
1900-01-01
公开(公告)号:
US20030020922A1
申请日:
2001-10-18
公开(公告)日:
2003-01-30
当前申请(专利权)人:
BOSTON SCIENTIFIC SCIMED, INC.
发明人:
CROWLEY, ROBERT J. | BARBATO, LOUIS J. | OSTROVSKY, ISAAC | MODELL, MARK D.
简单同族:
AT422326T | AU2002367168A1 | CA2459254A1 | DE60231132D1 | EP1435835A1 | EP1435835B1 | ES2323679T3 | JP2005514601A | JP2005514601A5 | US20030020922A1 | US6847454 | WO2003055383A1
简单同族成员数量:
12
简单同族被引用专利总数:
78
诉讼案件数:
0
法律状态/事件:
授权 | 权利转移