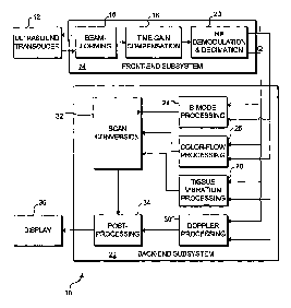
标题:
Transcutaneous localization of arterial bleeding by two-dimensional ultrasonic imaging of tissue vibrations
授权日:
2010-09-28
公开(公告)号:
US7803116
申请日:
2004-10-01
公开(公告)日:
2010-09-28
当前申请(专利权)人:
UNIVERSITY OF WASHINGTON
发明人:
SIKDAR, SIDDHARTHA | KIM, YONGMIN | BEACH, KIRK
简单同族:
US20070066895A1 | US7803116 | WO2005037060A2 | WO2005037060A3
简单同族成员数量:
4
简单同族被引用专利总数:
35
诉讼案件数:
0
法律状态/事件:
未缴年费 | 许可 | 权利转移