首页
专利数据库
产业人才
行业动态
产业政策法规
维权援助
个人中心
登录/注册
详情
文本
图像
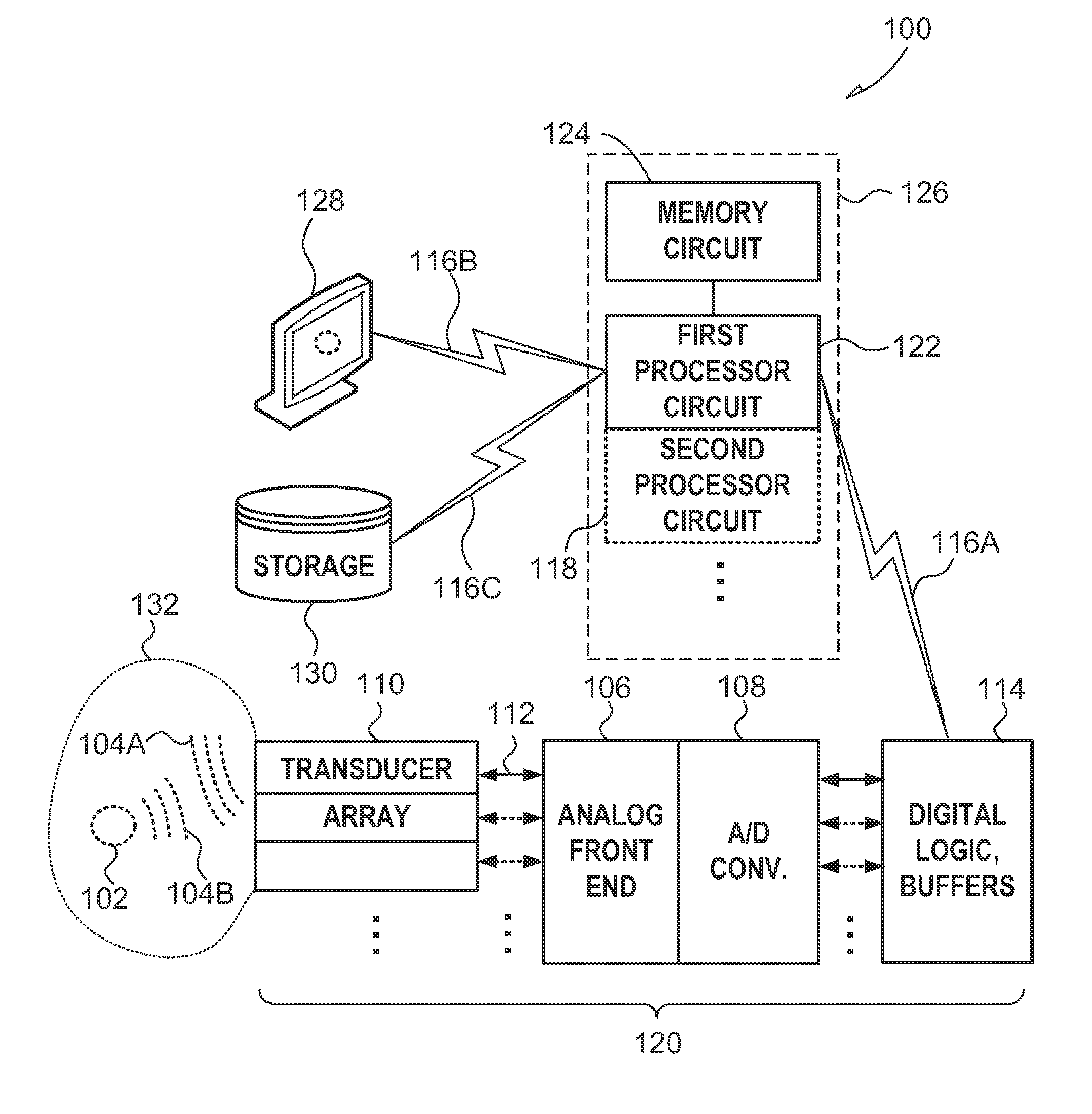
标题:
Separable beamforming for ultrasound array
授权日:
1900-01-01
公开(公告)号:
US20140200456A1
申请日:
2012-06-07
公开(公告)日:
2014-07-17
当前申请(专利权)人:
UNIVERSITY OF VIRGINIA PATENT FOUNDATION
发明人:
OWEN, KEVIN
简单同族:
DE112012002629T5 | JP2014515980A | US10159464 | US20140200456A1 | US20170100097A1 | US9433398 | WO2012170714A1
简单同族成员数量:
7
简单同族被引用专利总数:
24
诉讼案件数:
0
法律状态/事件:
授权 | 权利转移