标题:
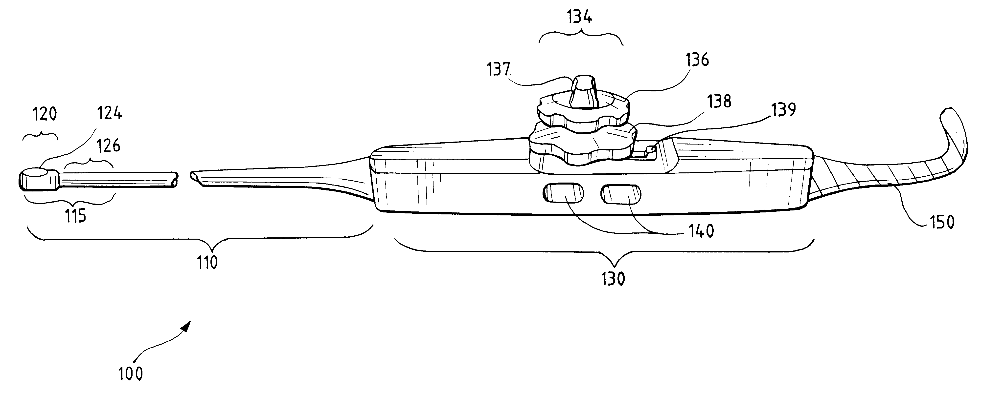
Transesophageal ultrasound probe with imaging element position sensor in scanhead
授权日:
2002-11-12
公开(公告)号:
US6478743
申请日:
2001-03-16
公开(公告)日:
2002-11-12
当前申请(专利权)人:
GE MEDICAL SYSTEMS GLOBAL TECHNOLOGY CO., LLC
发明人:
JORDFALD, DAG | CHEN, JIAYU | RONANDER, JON | SNYDER, JONATHAN E. | PIEL, JR., JOSEPH E. | JONSBERG, KARL
简单同族:
EP1240869A2 | EP1240869A3 | EP1240869B1 | JP2002330971A | JP2002330971A5 | JP4209124B2 | US20020133078A1 | US6478743
简单同族成员数量:
8
简单同族被引用专利总数:
28
诉讼案件数:
0
法律状态/事件:
授权 | 权利转移