首页
专利数据库
产业人才
行业动态
产业政策法规
维权援助
个人中心
登录/注册
详情
文本
图像
标题:
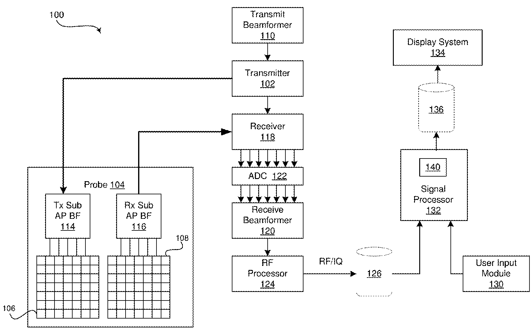
Method and system for enhanced visualization of moving structures with cross-plane ultrasound images
授权日:
1900-01-01
公开(公告)号:
US20180325496A1
申请日:
2017-05-10
公开(公告)日:
2018-11-15
当前申请(专利权)人:
GENERAL ELECTRIC COMPANY
发明人:
STEININGER, JOSEF
简单同族:
CN108852409A | KR1020180123974A | US10299764 | US20180325496A1
简单同族成员数量:
4
简单同族被引用专利总数:
0
诉讼案件数:
0
法律状态/事件:
授权 | 权利转移