首页
专利数据库
产业人才
行业动态
产业政策法规
维权援助
个人中心
登录/注册
详情
文本
图像
标题:
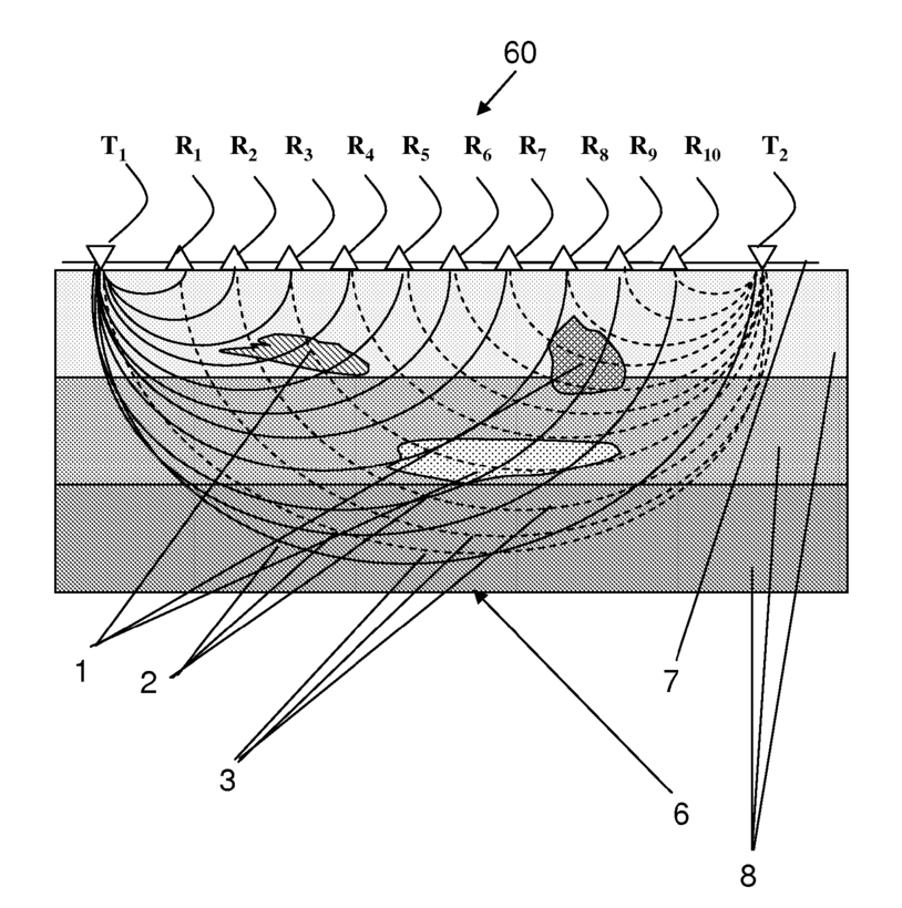
3-d quantitative-imaging ultrasonic method for bone inspections and device for its implementation
授权日:
1900-01-01
公开(公告)号:
US20110112404A1
申请日:
2011-01-17
公开(公告)日:
2011-05-12
当前申请(专利权)人:
GOUREVITCH, ALLA
发明人:
GOUREVITCH, ALLA
简单同族:
US20110112404A1 | US8540638
简单同族成员数量:
2
简单同族被引用专利总数:
33
诉讼案件数:
0
法律状态/事件:
授权 | 权利转移