标题:
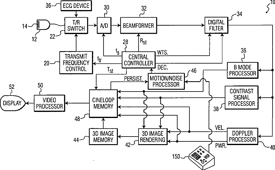
Ultrasonic diagnostic imaging system with automatic control of penetration, resolution and frame rate
授权日:
1900-01-01
公开(公告)号:
US20100010352A1
申请日:
2009-09-18
公开(公告)日:
2010-01-14
当前申请(专利权)人:
KONINKLIJKE PHILIPS ELECTRONICS N.V.
发明人:
JONG, JING-MING
简单同族:
AT487149T | CN1894594A | CN1894594B | DE602004029930D1 | EP1697759A1 | EP1697759B1 | JP2007513726A | US20070276236A1 | US20100010352A1 | WO2005059586A1
简单同族成员数量:
10
简单同族被引用专利总数:
72
诉讼案件数:
0
法律状态/事件:
实质审查