首页
专利数据库
产业人才
行业动态
产业政策法规
维权援助
个人中心
登录/注册
详情
文本
图像
标题:
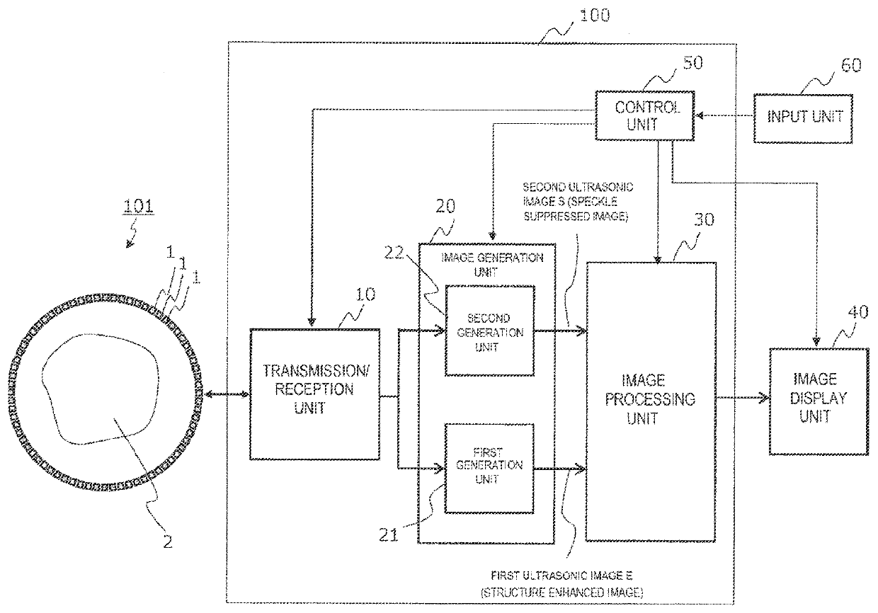
Ultrasonic imaging device and image processing device
授权日:
1900-01-01
公开(公告)号:
US20200008784A1
申请日:
2019-04-11
公开(公告)日:
2020-01-09
当前申请(专利权)人:
HITACHI, LTD.
发明人:
YAMANAKA, KAZUHIRO | KAWABATA, KENICHI
简单同族:
CN110680380A | JP2020005804A | US20200008784A1
简单同族成员数量:
3
简单同族被引用专利总数:
0
诉讼案件数:
0
法律状态/事件:
实质审查 | 权利转移