首页
专利数据库
产业人才
行业动态
产业政策法规
维权援助
个人中心
登录/注册
详情
文本
图像
标题:
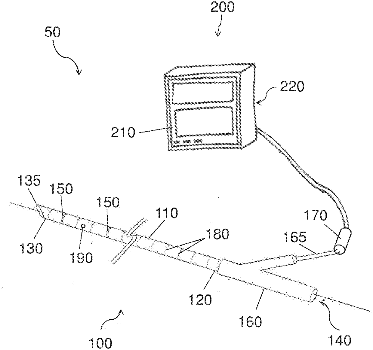
Intravascular ultrasound catheter systems and methods for using the same
授权日:
1900-01-01
公开(公告)号:
US20200129145A1
申请日:
2019-10-28
公开(公告)日:
2020-04-30
当前申请(专利权)人:
ABBASI VASCULAR SOLUTIONS, INC.
发明人:
ABBASI, MOHAMMAD NABEEL
简单同族:
US20200129145A1 | WO2020087000A1 | WO2020087058A1
简单同族成员数量:
3
简单同族被引用专利总数:
0
诉讼案件数:
0
法律状态/事件:
实质审查