首页
专利数据库
产业人才
行业动态
产业政策法规
维权援助
个人中心
登录/注册
详情
文本
图像
标题:
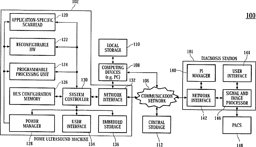
Home ultrasound system
授权日:
1900-01-01
公开(公告)号:
US20110301464A1
申请日:
2011-08-16
公开(公告)日:
2011-12-08
当前申请(专利权)人:
NANYANG TECHNOLOGICAL UNIVERSITY
发明人:
YOO, YANG MO | KIM, YONGMIN | SIM, DONG-GYU | AGARWAL, ANUP | SCHNEIDER, FABIO KURT
简单同族:
SG120301A1 | US20060074320A1 | US20110301464A1
简单同族成员数量:
3
简单同族被引用专利总数:
103
诉讼案件数:
0
法律状态/事件:
撤回