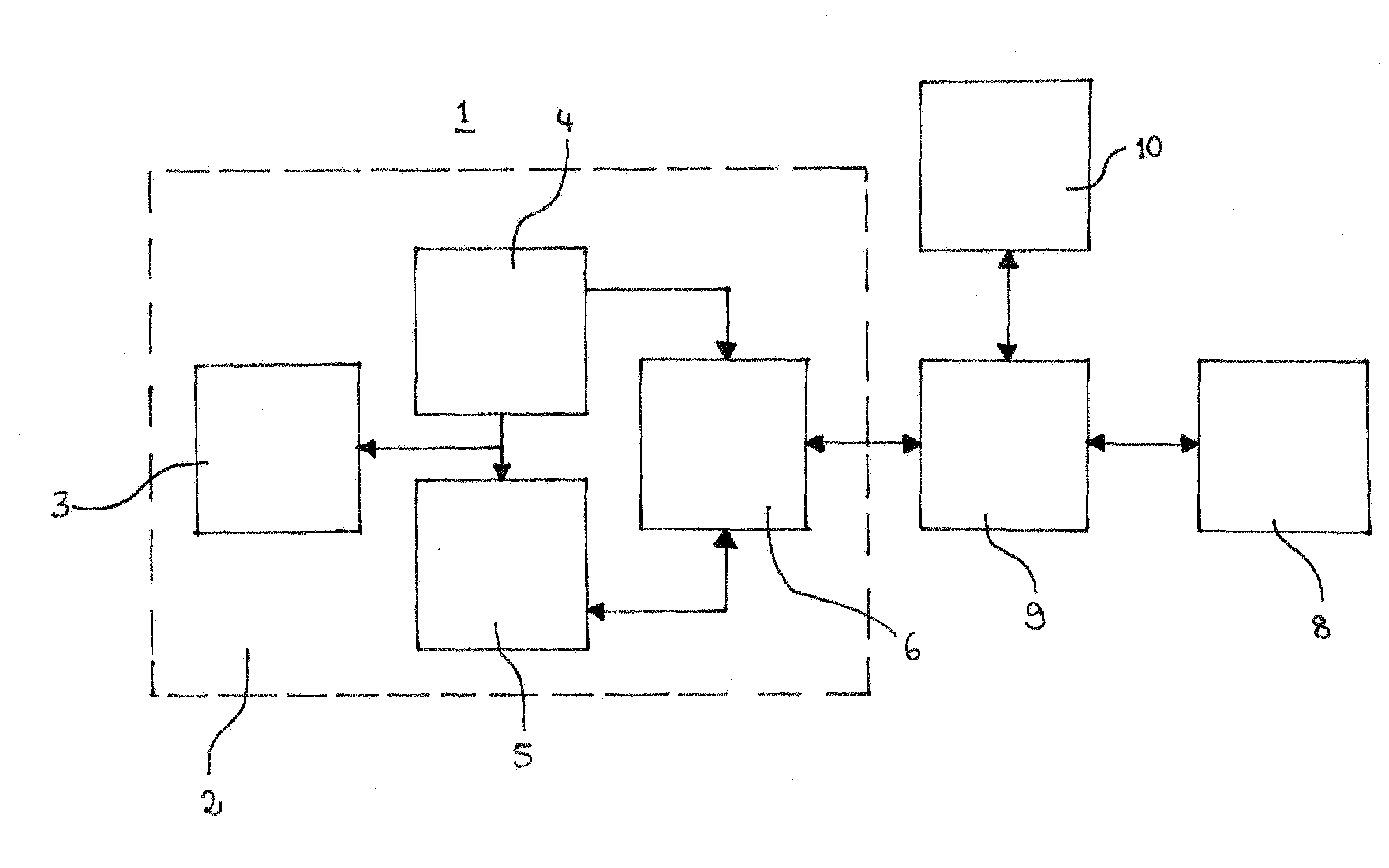
标题:
Ultrasound imaging system and method for providing assistance in an ultrasound imaging system
授权日:
1900-01-01
公开(公告)号:
US20110196235A1
申请日:
2008-04-22
公开(公告)日:
2011-08-11
当前申请(专利权)人:
EZONO AG
发明人:
DUNBAR, ALLAN | SCHETS, SICCD | MOHAMMED, FATEH | ARBASH, HIBA
简单同族:
EP2285287A1 | EP2285287B1 | JP2011518013A | JP5349582B2 | US20110196235A1 | US20190142362A1 | WO2009129845A1
简单同族成员数量:
7
简单同族被引用专利总数:
57
诉讼案件数:
0
法律状态/事件:
撤回 | 权利转移