首页
专利数据库
产业人才
行业动态
产业政策法规
维权援助
个人中心
登录/注册
详情
文本
图像
标题:
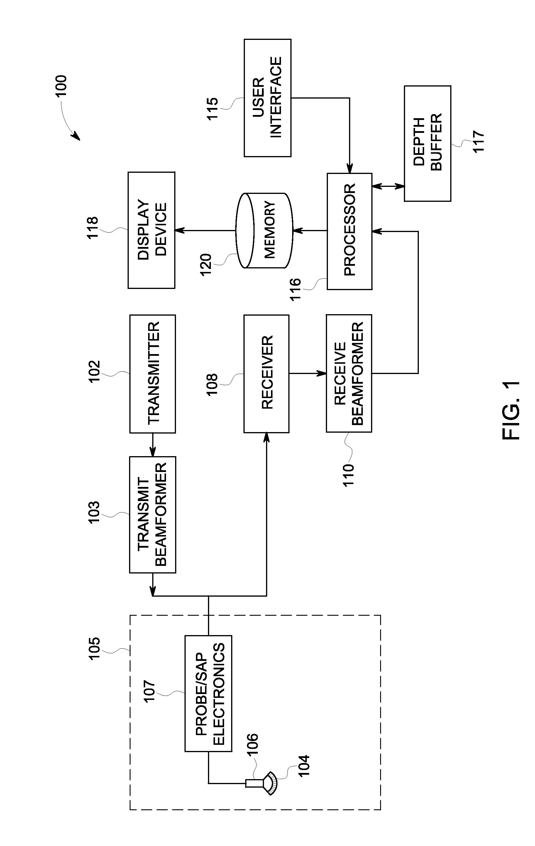
Ultrasound imaging system and method
授权日:
1900-01-01
公开(公告)号:
US20130150719A1
申请日:
2011-12-08
公开(公告)日:
2013-06-13
当前申请(专利权)人:
GENERAL ELECTRIC COMPANY
发明人:
ORDERUD, FREDRIK
简单同族:
CN103156638A | CN103156638B | FR2984000A1 | JP2013119035A | JP6147489B2 | US20130150719A1
简单同族成员数量:
6
简单同族被引用专利总数:
21
诉讼案件数:
0
法律状态/事件:
撤回 | 权利转移