标题:
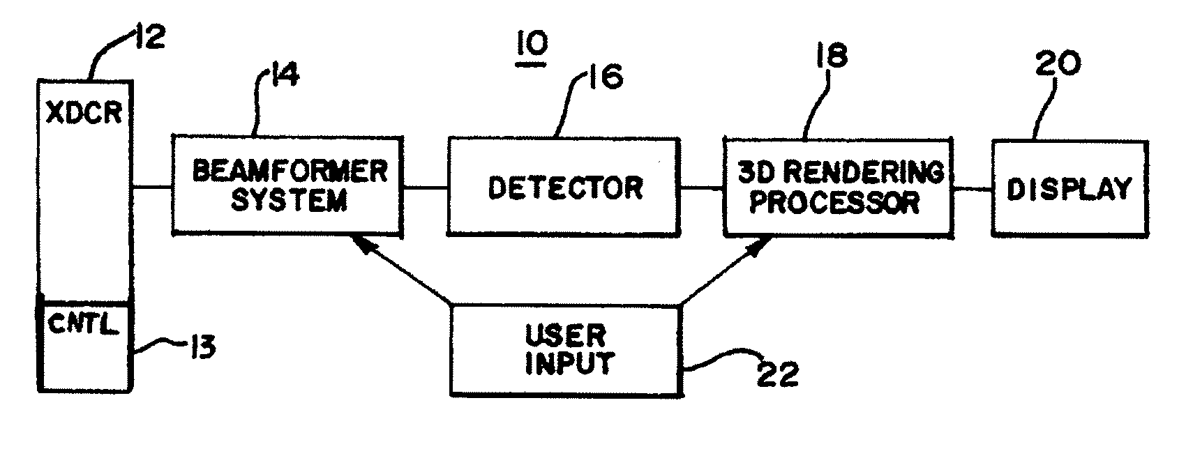
Volume Rendering Quality Adaptations for Ultrasound Imaging
授权日:
1900-01-01
公开(公告)号:
US20090054778A1
申请日:
2008-09-16
公开(公告)日:
2009-02-26
当前申请(专利权)人:
PAGOULATOS NIKOLAOS | MCDERMOTT BRUCE A | LINDH THOMAS B | GAUSS RODERICK C
发明人:
PAGOULATOS, NIKOLAOS | MCDERMOTT, BRUCE A. | LINDH, THOMAS B. | GAUSS, RODERICK C.
简单同族:
US20060020207A1 | US20090009514A1 | US20090054778A1 | US7601121 | US8636666
简单同族成员数量:
5
简单同族被引用专利总数:
38
诉讼案件数:
0
法律状态/事件:
撤回