首页
专利数据库
产业人才
行业动态
产业政策法规
维权援助
个人中心
登录/注册
详情
文本
图像
标题:
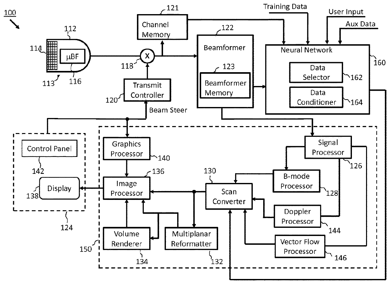
Ultrasound imaging system with a neural network for deriving imaging data and tissue information
授权日:
1900-01-01
公开(公告)号:
US20190336108A1
申请日:
2018-01-03
公开(公告)日:
2019-11-07
当前申请(专利权)人:
KONINKLIJKE PHILIPS N.V.
发明人:
HOPE SIMPSON, DAVID | CANFIELD, EARL M. | TRAHMS, ROBERT GUSTAV | SHAMDASANI, VIJAY THAKUR
简单同族:
US20190336108A1
简单同族成员数量:
1
简单同族被引用专利总数:
0
诉讼案件数:
0
法律状态/事件:
实质审查 | 权利转移