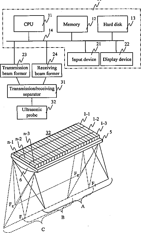
标题:
Ultrasonographic device and ultrasonographic method
授权日:
1900-01-01
公开(公告)号:
US20060173334A1
申请日:
2004-06-09
公开(公告)日:
2006-08-03
当前申请(专利权)人:
HITACHI MEDICAL CORPORATION
发明人:
AZUMA, TAKASHI | UMEMURA, SHIN-ICHIRO | BABA, HIROTAKA
简单同族:
CN1805710A | EP1652475A1 | EP1652475A4 | EP1652475B1 | JP2010042266A | JP4426530B2 | JP5357684B2 | JPWO2005013829A1 | US20060173334A1 | US20090118617A1 | US7473226 | US8079956 | WO2005013829A1
简单同族成员数量:
13
简单同族被引用专利总数:
43
诉讼案件数:
0
法律状态/事件:
未缴年费 | 权利转移