首页
专利数据库
产业人才
行业动态
产业政策法规
维权援助
个人中心
登录/注册
详情
文本
图像
标题:
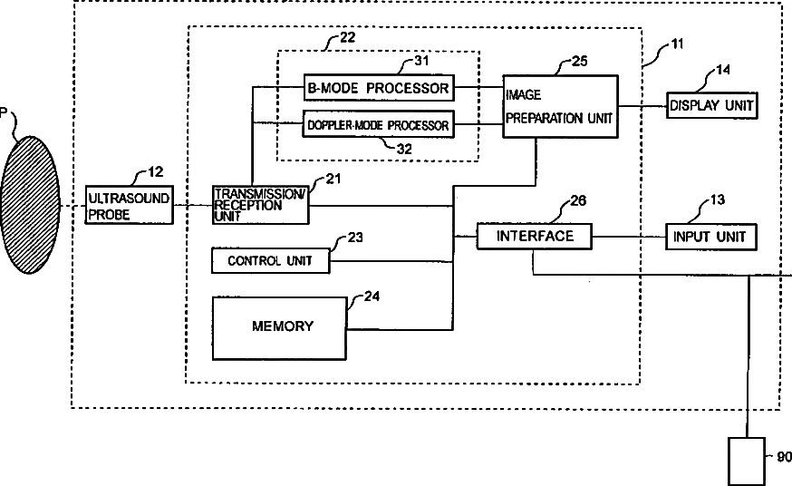
Ultrasound diagnosis apparatus
授权日:
1900-01-01
公开(公告)号:
US20050187475A1
申请日:
2004-12-27
公开(公告)日:
2005-08-25
当前申请(专利权)人:
TOSHIBA MEDICAL SYSTEMS CORPORATION
发明人:
NAKAYA, SHIGEMITSU
简单同族:
CN100384379C | CN1644169A | JP2005185456A | JP4567967B2 | US20050187475A1 | US7563230
简单同族成员数量:
6
简单同族被引用专利总数:
32
诉讼案件数:
0
法律状态/事件:
授权 | 权利转移