标题:
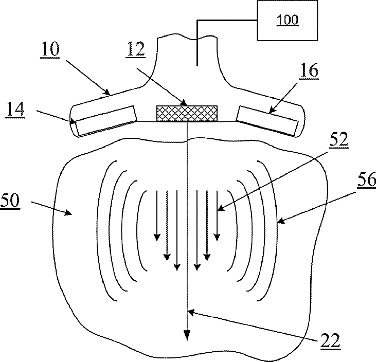
Determining Material Stiffness Using Multiple Aperture Ultrasound
授权日:
1900-01-01
公开(公告)号:
US20130218012A1
申请日:
2013-02-21
公开(公告)日:
2013-08-22
当前申请(专利权)人:
MAUI IMAGING, INC.
发明人:
SPECHT, DONALD F. | BREWER, KENNETH D.
简单同族:
CN104135937A | CN104135937B | CN107028623A | EP2816958A1 | EP2816958A4 | EP2816958B1 | HK1202038A | JP2015508012A | JP6438769B2 | KR1020140129246A | US10675000 | US20130218012A1 | US20160256134A1 | US9339256 | WO2013126559A1
简单同族成员数量:
15
简单同族被引用专利总数:
45
诉讼案件数:
0
法律状态/事件:
授权 | 权利转移