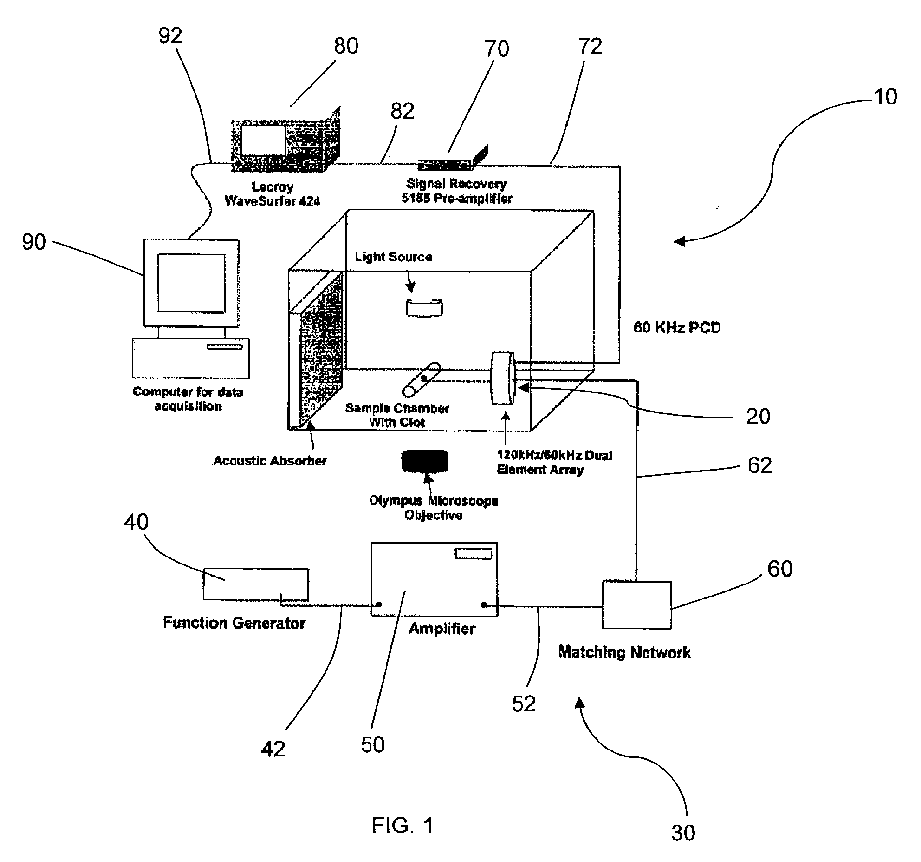
标题:
Ultrasound-mediated inducement, detection, and enhancement of stable cavitation
授权日:
1900-01-01
公开(公告)号:
EP3210540A1
申请日:
2010-03-19
公开(公告)日:
2017-08-30
当前申请(专利权)人:
UNIVERSITY OF CINCINNATI
发明人:
HOLLAND, CHRISTY K. | DATTA, SAURABH | MAST, T. DOUGLAS | IVANCEVICH, NIKOLAS | HITCHCOCK, KATHRYN ELIZABETH | HAWORTH, KEVIN
简单同族:
CA2756038A1 | CA2973013A1 | EP2413806A1 | EP2413806A4 | EP3210540A1 | US20120130288A1 | US20160144203A1 | US9675820 | WO2010108104A1
简单同族成员数量:
9
简单同族被引用专利总数:
24
诉讼案件数:
0
法律状态/事件:
公开