首页
专利数据库
产业人才
行业动态
产业政策法规
维权援助
个人中心
登录/注册
详情
文本
图像
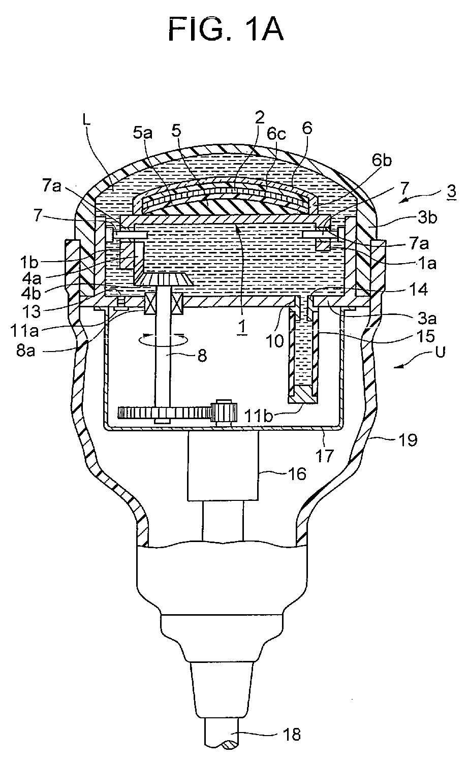
标题:
Ultrasonic probe
授权日:
1900-01-01
公开(公告)号:
EP2000097A1
申请日:
2007-02-16
公开(公告)日:
2008-12-10
当前申请(专利权)人:
NIHON DEMPA KOGYO CO., LTD.
发明人:
HASEGAWA, YASUNOBU
简单同族:
CN101360459A | CN101360459B | EP2000097A1 | EP2000097A4 | JP2007267817A | JP4668110B2 | US20090049914A1 | US7963167 | WO2007125672A1
简单同族成员数量:
9
简单同族被引用专利总数:
38
诉讼案件数:
0
法律状态/事件:
撤回