标题:
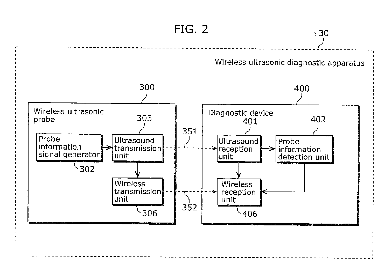
Wireless ultrasonic diagnostic device, wireless ultrasonic probe, and probe certification method
授权日:
1900-01-01
公开(公告)号:
EP2422703A1
申请日:
2010-04-22
公开(公告)日:
2012-02-29
当前申请(专利权)人:
KONICA MINOLTA, INC.
发明人:
WATANABE, YAUHITO
简单同族:
CN102076264A | CN102076264B | EP2422703A1 | EP2422703A4 | JP5549598B2 | JPWO2010122791A1 | US20110105904A1 | US9622718 | WO2010122791A1
简单同族成员数量:
9
简单同族被引用专利总数:
59
诉讼案件数:
0
法律状态/事件:
撤回 | 权利转移