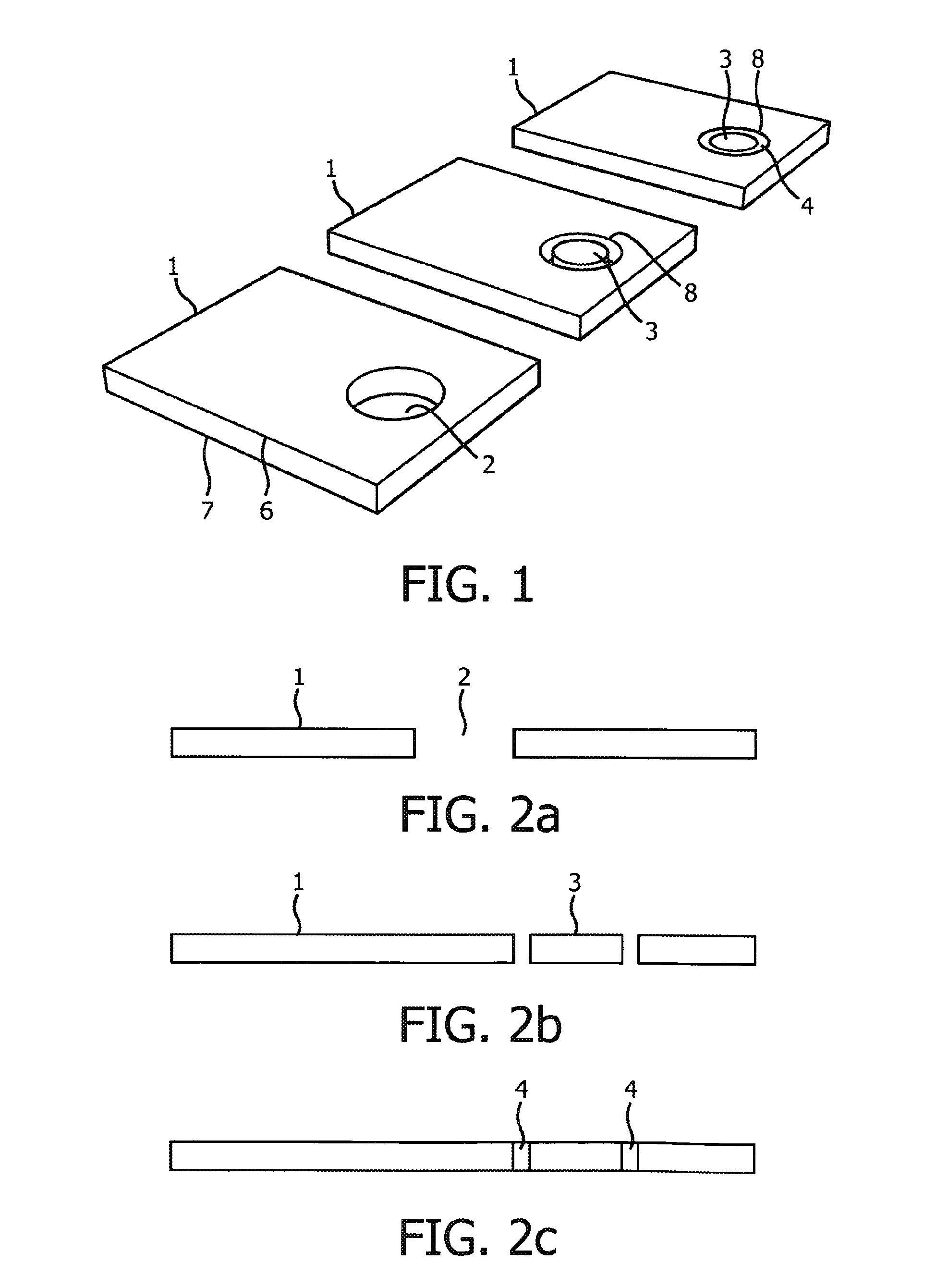
标题:
Medical device with ultrasound transducers embedded in flexible foil
授权日:
2015-12-30
公开(公告)号:
EP2640528B1
申请日:
2011-10-03
公开(公告)日:
2015-12-30
当前申请(专利权)人:
KONINKLIJKE PHILIPS N.V.
发明人:
DELADI, SZABOLCS | VAN DER VLEUTEN, CORNELIUS ANTONIUS NICOLAAS M. | RADEMAKERS, ANTONIUS, JOHANNES, JOSEPHUS
简单同族:
BR112013012197A2 | BR112013012197A8 | CN103220996A | CN103220996B | CN103221148A | CN103221148B | EP2640298A1 | EP2640298B1 | EP2640528A1 | EP2640528B1 | EP3441036A1 | EP3441036B1 | IN3726CHENP2013A | JP2013542828A | JP2013542828A5 | JP2014503239A | JP2014503239A5 | JP5878930B2 | JP6273144B2 | RU2013127518A | RU2013127531A | RU2573443C2 | RU2588290C2 | US10238364 | US10405828 | US20130245433A1 | US20140148703A1 | US20190015072A1 | WO2012066430A1 | WO2012066437A1
简单同族成员数量:
30
简单同族被引用专利总数:
53
诉讼案件数:
0
法律状态/事件:
授权