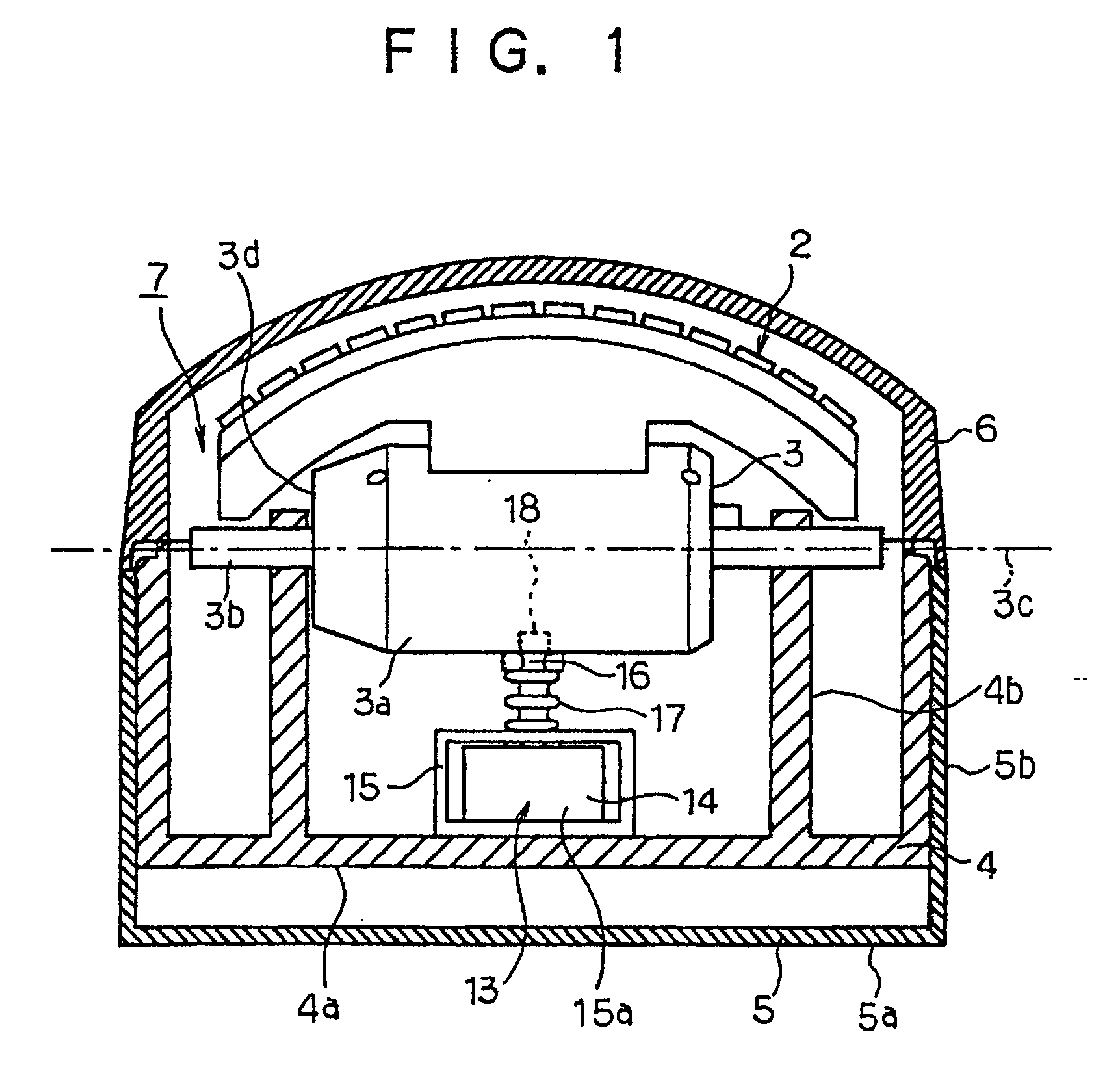
标题:
Ultrasonic probe
授权日:
1900-01-01
公开(公告)号:
EP1208801A3
申请日:
2001-11-14
公开(公告)日:
2003-10-08
当前申请(专利权)人:
MATSUSHITA ELECTRIC INDUSTRIAL CO., LTD.
发明人:
OKAWA, EIICHI | SUZUKI, TAKASHI
简单同族:
AU2001091341A1 | AU778075B2 | CA2363263A1 | CN1359659A | EP1208801A2 | EP1208801A3 | JP2002153460A | JP3490391B2 | KR1020020038558A | TW496732B | US20020062081A1 | US6423008
简单同族成员数量:
12
简单同族被引用专利总数:
24
诉讼案件数:
0
法律状态/事件:
撤回