首页
专利数据库
产业人才
行业动态
产业政策法规
维权援助
个人中心
登录/注册
详情
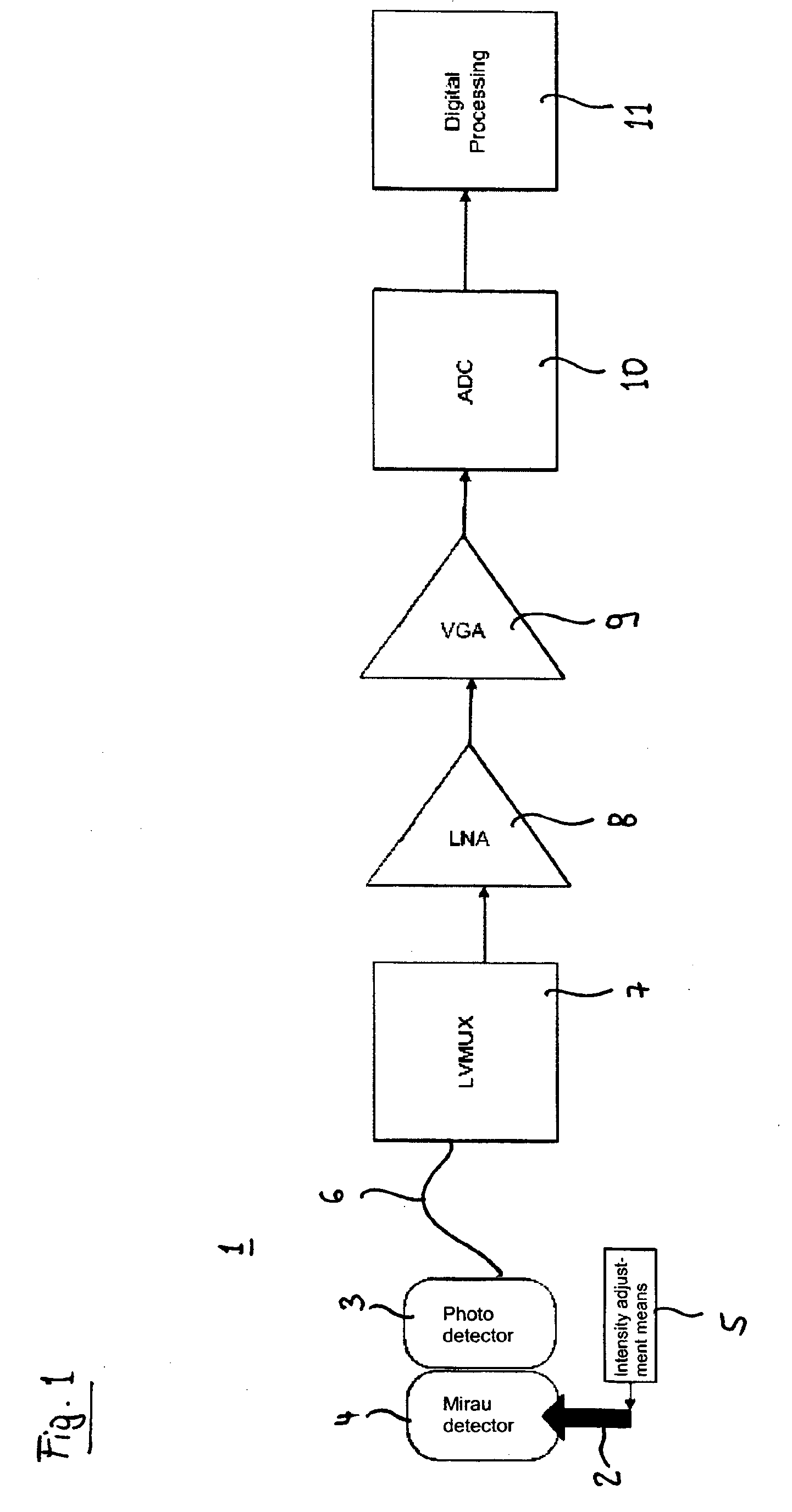
文本
图像
标题:
Opto-electrical ultrasound sensor and system
授权日:
2011-06-08
公开(公告)号:
EP2015105B1
申请日:
2007-07-13
公开(公告)日:
2011-06-08
当前申请(专利权)人:
EZONO AG
发明人:
DUNBAR, ALLEN | SOBRINO, ELISEO | SCHETS, SICCO | ZEITNER, UWE
简单同族:
AT512375T | EP2015105A1 | EP2015105B1 | US20100210950A1 | US9155517 | WO2009010386A1
简单同族成员数量:
6
简单同族被引用专利总数:
45
诉讼案件数:
0
法律状态/事件:
授权