首页
专利数据库
产业人才
行业动态
产业政策法规
维权援助
个人中心
登录/注册
详情
文本
图像
标题:
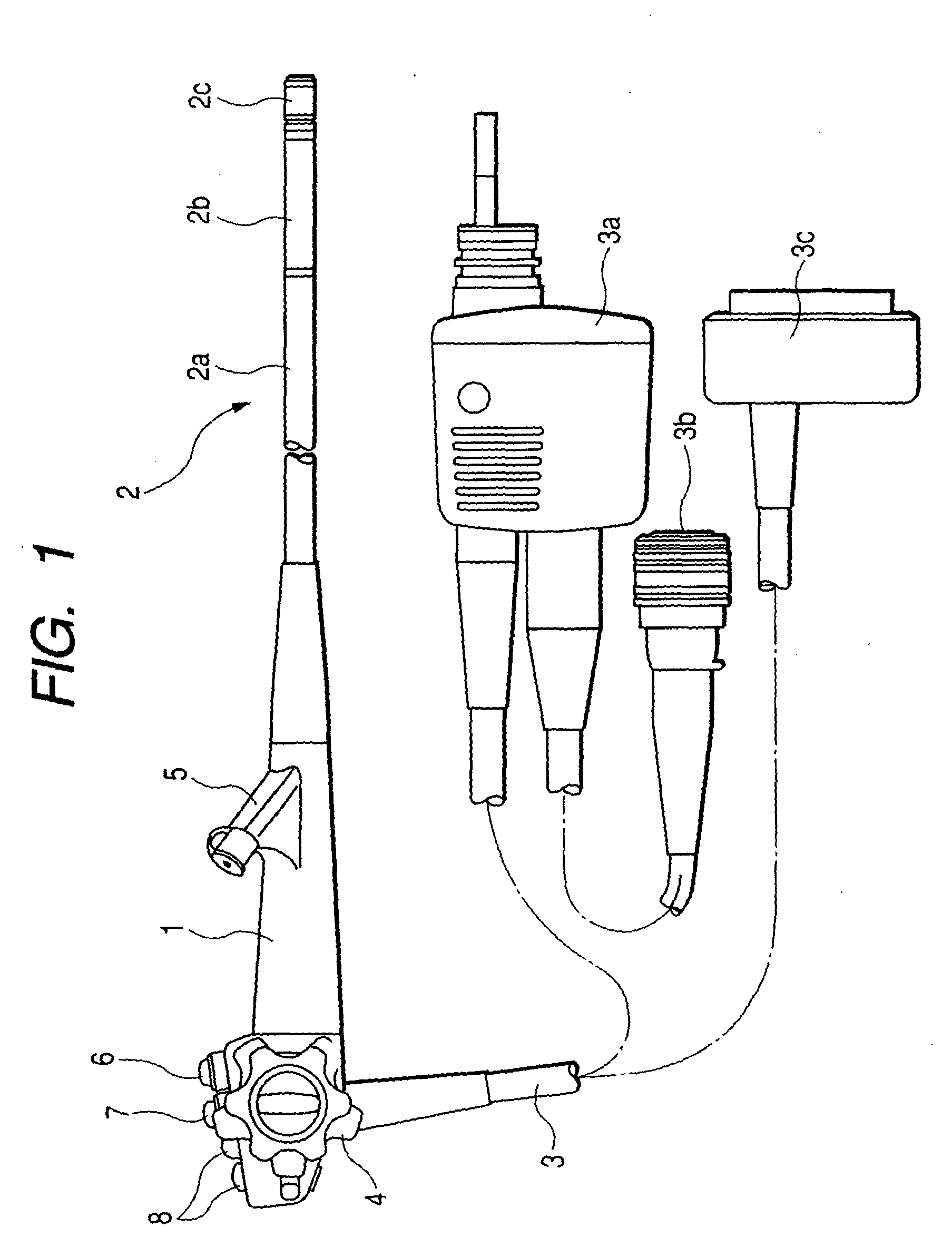
Ultrasonic endoscope
授权日:
1900-01-01
公开(公告)号:
EP1614390A1
申请日:
2005-07-04
公开(公告)日:
2006-01-11
当前申请(专利权)人:
FUJINON CORPORATION
发明人:
TANAKA, TOSHIZUMI | ITOI, HIROMU
简单同族:
AT372722T | DE602005002405D1 | DE602005002405T2 | EP1614390A1 | EP1614390B1 | US20060009681A1 | US7569012
简单同族成员数量:
7
简单同族被引用专利总数:
52
诉讼案件数:
0
法律状态/事件:
权利终止