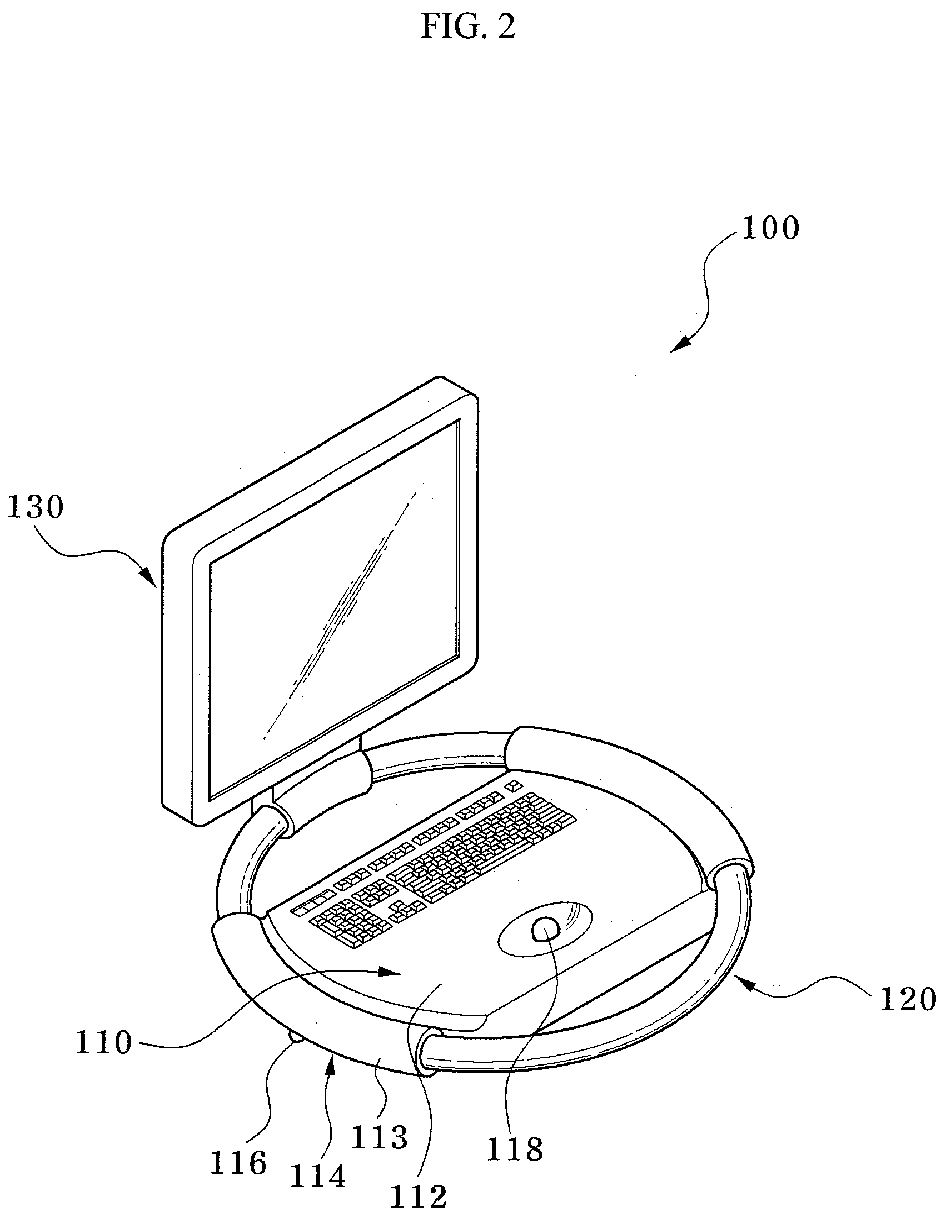
标题:
Portable ultrasonic diagnostic apparatus
授权日:
1900-01-01
公开(公告)号:
EP2138100A1
申请日:
2009-06-17
公开(公告)日:
2009-12-30
当前申请(专利权)人:
SAMSUNG MEDISON CO., LTD.
发明人:
SHIN, SOO-HWAN | SONG, MI RAN | KIM, JAE-GYOUNG | LEE, SUN KI | SONG, YOUNG SEUK
简单同族:
EP2138100A1 | EP2138100B1 | EP2138100B8 | JP2010005400A | JP4972672B2 | KR100952078B1 | KR1020100000763A | US20090326380A1 | US8514567
简单同族成员数量:
9
简单同族被引用专利总数:
29
诉讼案件数:
0
法律状态/事件:
权利终止 | 权利转移