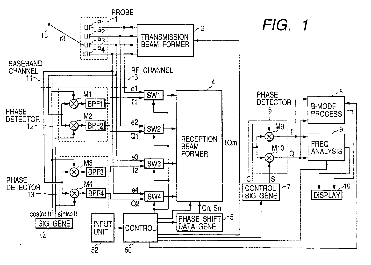
标题:
Ultrasound diagnostic apparatus
授权日:
1900-01-01
公开(公告)号:
EP1118875A2
申请日:
2000-09-08
公开(公告)日:
2001-07-25
当前申请(专利权)人:
MATSUSHITA ELECTRIC INDUSTRIAL CO., LTD.
发明人:
FUKUKITA, HIROSHI | NISHIGAKI, MORIO | HAGIWARA, HISASHI
简单同族:
DE60018156D1 | DE60018156T2 | EP1118875A2 | EP1118875A3 | EP1118875B1 | JP2001198129A | JP3306403B2 | US6364836
简单同族成员数量:
8
简单同族被引用专利总数:
24
诉讼案件数:
0
法律状态/事件:
授权