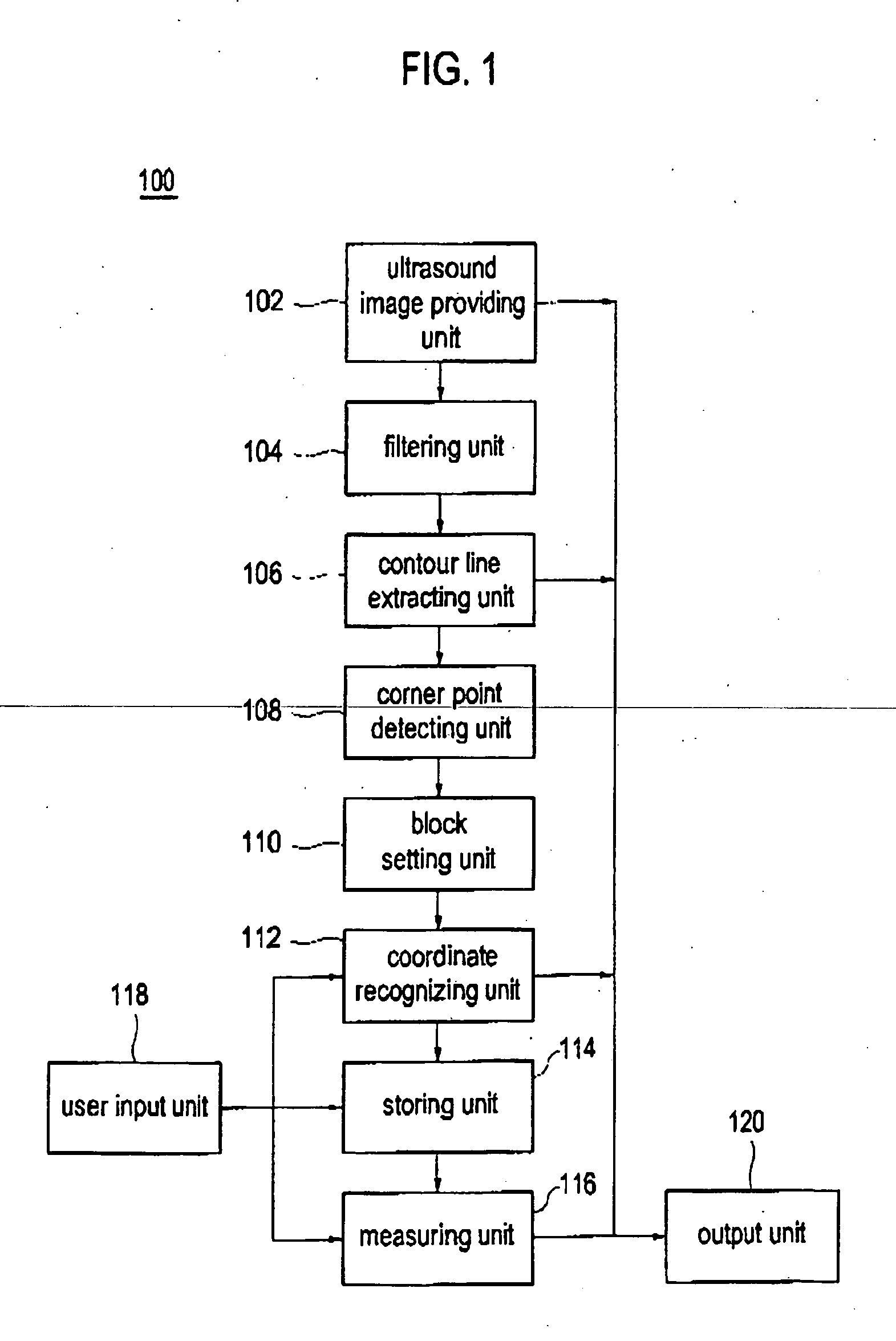
标题:
Ultrasound diagnostic apparatus and method for measuring a size of a target object
授权日:
2010-07-28
公开(公告)号:
EP1913874B1
申请日:
2007-10-16
公开(公告)日:
2010-07-28
当前申请(专利权)人:
MEDISON CO., LTD.
发明人:
LEE, JIN YONG | OH, WON GEE
简单同族:
DE602007008027D1 | EP1913874A1 | EP1913874B1 | JP2008100073A | JP2008100073A5 | JP5121389B2 | KR100954989B1 | KR1020080035163A | US20080097209A1 | US8144961
简单同族成员数量:
10
简单同族被引用专利总数:
22
诉讼案件数:
0
法律状态/事件:
授权