标题:
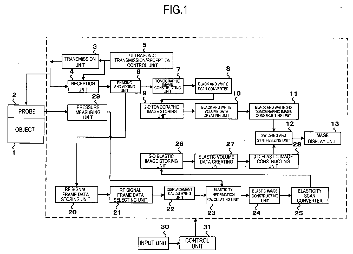
Ultrasound diagnostic apparatus and method of displaying ultrasound image
授权日:
1900-01-01
公开(公告)号:
EP2319416A1
申请日:
2009-06-22
公开(公告)日:
2011-05-11
当前申请(专利权)人:
HITACHI, LTD.
发明人:
WAKI,KOJI | KURIBARA,HIROSHI
简单同族:
CN102131466A | CN102131466B | EP2319416A1 | EP2319416A4 | JP5470253B2 | JPWO2010024023A1 | JPWO2010024023A5 | US20110160590A1 | US9332958 | WO2010024023A1
简单同族成员数量:
10
简单同族被引用专利总数:
22
诉讼案件数:
0
法律状态/事件:
撤回 | 权利转移