标题:
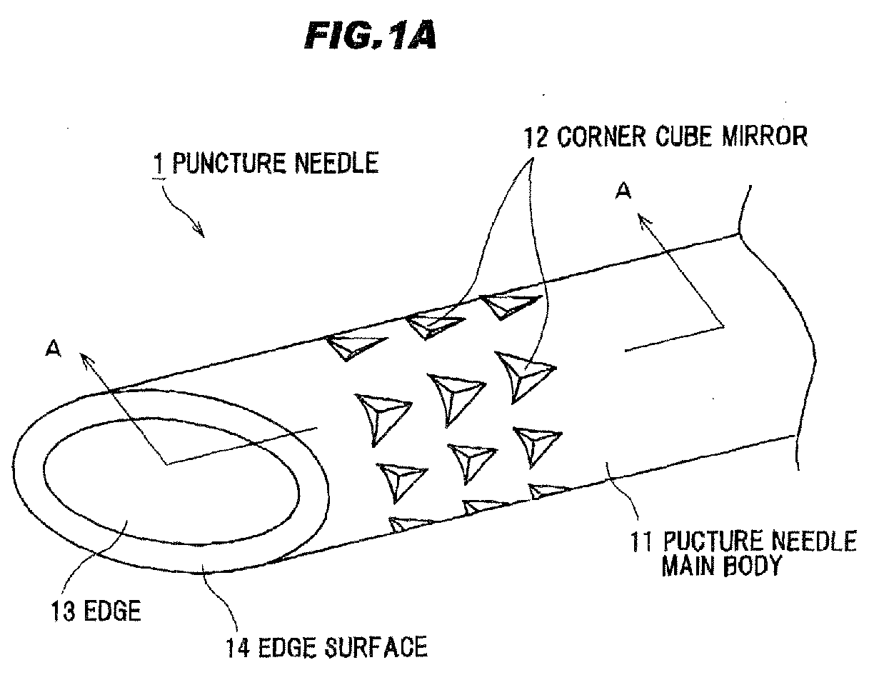
Ultrasonic puncture needle
授权日:
1900-01-01
公开(公告)号:
EP2363070A1
申请日:
2005-07-25
公开(公告)日:
2011-09-07
当前申请(专利权)人:
HAKKO CO., LTD.
发明人:
MARUYAMA, MASARU | KITAGAWA, SHIRO | KOMATSU, MASAYOSHI
简单同族:
CN101227862A | CN101227862B | EP1908406A1 | EP1908406A4 | EP1908406B1 | EP2363070A1 | HK1114760A | HK1114760A1 | JP4700057B2 | JPWO2007013130A1 | US20090137906A1 | US20120117807A1 | US20140180104A1 | WO2007013130A1
简单同族成员数量:
14
简单同族被引用专利总数:
98
诉讼案件数:
0
法律状态/事件:
撤回