首页
专利数据库
产业人才
行业动态
产业政策法规
维权援助
个人中心
登录/注册
详情
文本
图像
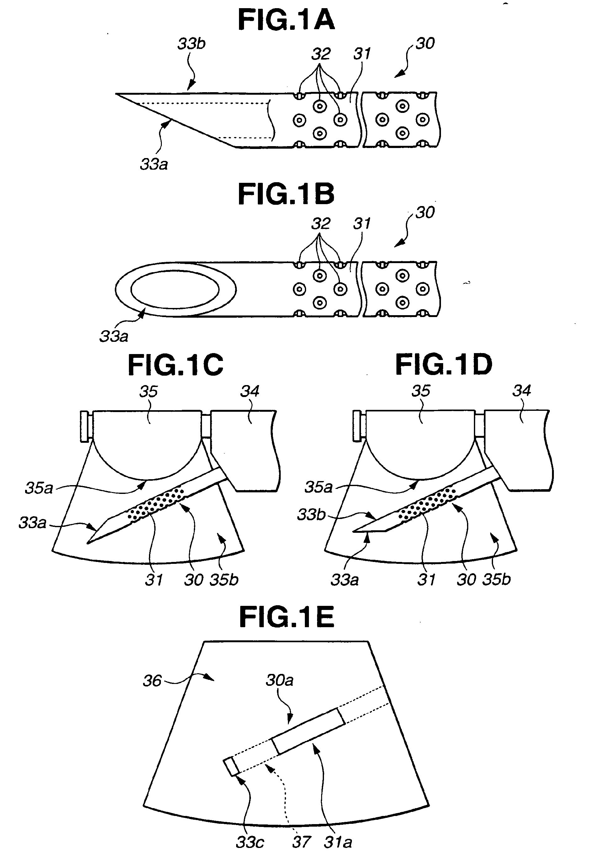
标题:
Ultrasonic puncture needle
授权日:
2007-02-14
公开(公告)号:
EP1426011B1
申请日:
2003-12-03
公开(公告)日:
2007-02-14
当前申请(专利权)人:
OLYMPUS CORPORATION
发明人:
ICHIKAWA, YUSUKE
简单同族:
DE60311736D1 | DE60311736T2 | EP1426011A1 | EP1426011B1 | JP2004181095A | JP3890013B2 | US20040249288A1
简单同族成员数量:
7
简单同族被引用专利总数:
96
诉讼案件数:
0
法律状态/事件:
授权