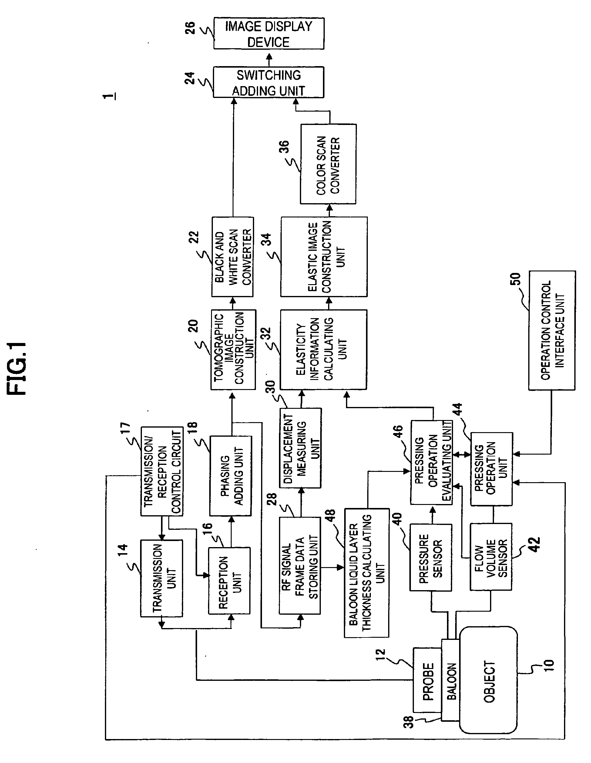
标题:
Pressing device, and ultrasonic probe and ultrasonic diagnosis device using the pressing device
授权日:
2012-04-11
公开(公告)号:
EP2050398B1
申请日:
2007-07-31
公开(公告)日:
2012-04-11
当前申请(专利权)人:
HITACHI MEDICAL CORPORATION
发明人:
MATSUMURA, TAKESHI | MITAKE, TSUYOSHI
简单同族:
CN101489490A | CN101489490B | EP2050398A1 | EP2050398A4 | EP2050398B1 | JP5237808B2 | JPWO2008016022A1 | US20100113937A1 | US8747323 | WO2008016022A1
简单同族成员数量:
10
简单同族被引用专利总数:
21
诉讼案件数:
0
法律状态/事件:
授权