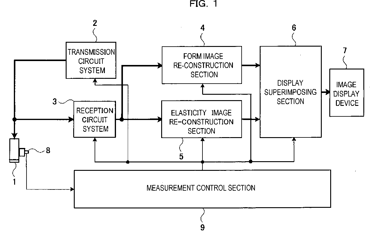
标题:
Biological tissue elasticity measurement method and ultrasonographic device
授权日:
1900-01-01
公开(公告)号:
EP1557125A1
申请日:
2003-10-28
公开(公告)日:
2005-07-27
当前申请(专利权)人:
HITACHI MEDICAL CORPORATION
发明人:
TAMANO, SATOSHI | OSAKA, TAKASHI | OSHIKI, MITSUHIRO | MATSUMURA, TAKESHI | SHIINA, TSUYOSHI
简单同族:
CN100413469C | CN101390758A | CN101390758B | CN1728968A | EP1557125A1 | EP1557125A4 | EP1557125B1 | JP2004141505A | JP2004141505A5 | JP4257696B2 | US20060058649A1 | US7520855 | WO2004041092A1
简单同族成员数量:
13
简单同族被引用专利总数:
56
诉讼案件数:
0
法律状态/事件:
权利终止