首页
专利数据库
产业人才
行业动态
产业政策法规
维权援助
个人中心
登录/注册
详情
文本
图像
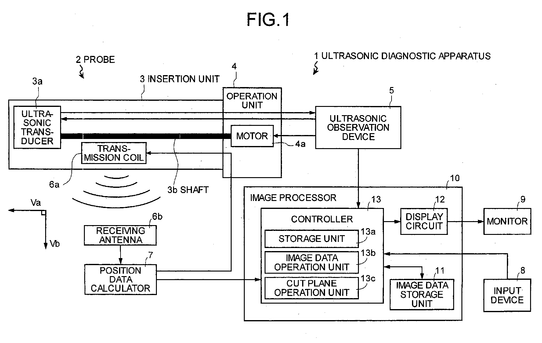
标题:
Ultrasonic diagnostic apparatus
授权日:
1900-01-01
公开(公告)号:
EP1523939A1
申请日:
2004-10-12
公开(公告)日:
2005-04-20
当前申请(专利权)人:
OLYMPUS CORPORATION
发明人:
KAWASHIMA, TOMONAO C/O INTELLECTUAL PROPERTY DEPT. | YOKOI, SHUN C/O INTELLECTUAL PROPERTY DEPARTMENT
简单同族:
EP1523939A1 | EP1523939B1 | US20050090743A1 | US7798966
简单同族成员数量:
4
简单同族被引用专利总数:
95
诉讼案件数:
0
法律状态/事件:
权利终止 | 权利转移