标题:
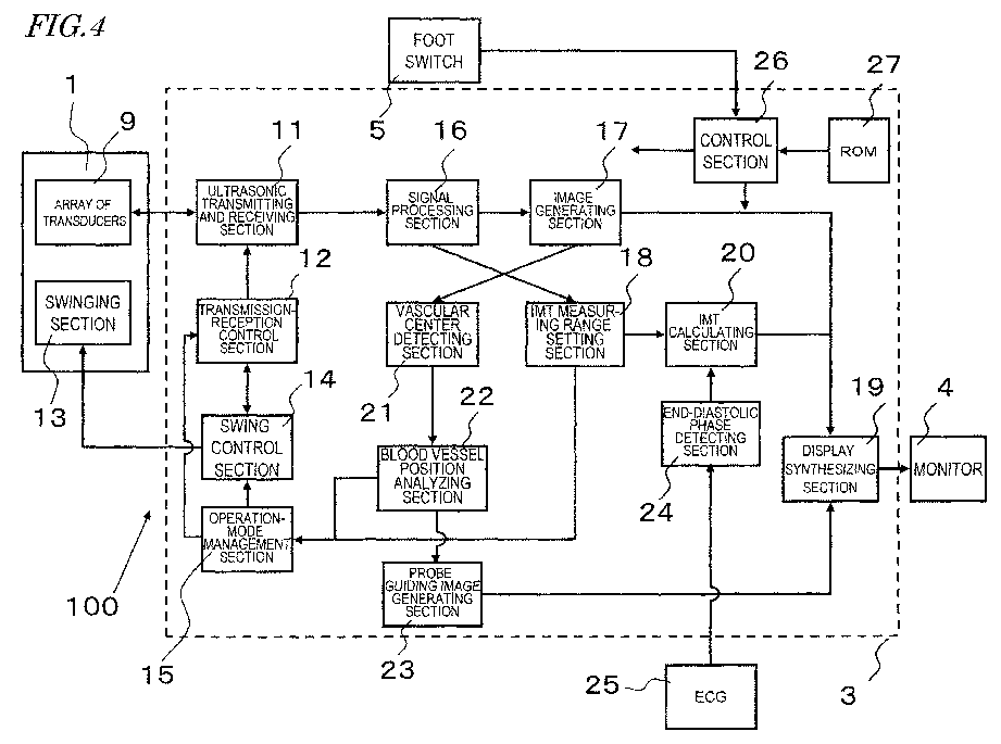
Ultrasonic diagnostic device, and region-to-be-detected image display method and measurement method using same
授权日:
1900-01-01
公开(公告)号:
EP2514365A1
申请日:
2010-12-17
公开(公告)日:
2012-10-24
当前申请(专利权)人:
KONICA MINOLTA, INC.
发明人:
URABE, MAKIKO | SAITO, KOETSU | KAWABATA, AKIHIRO | MIGITA, MANABU | NISHIGAKI, MORIO | KATO, RYUICHI
简单同族:
CN102573649A | CN102573649B | EP2514365A1 | EP2514365A4 | JP5672241B2 | JPWO2011074271A1 | US20120296214A1 | US9220477 | WO2011074271A1
简单同族成员数量:
9
简单同族被引用专利总数:
34
诉讼案件数:
0
法律状态/事件:
撤回 | 权利转移