首页
专利数据库
产业人才
行业动态
产业政策法规
维权援助
个人中心
登录/注册
详情
文本
图像
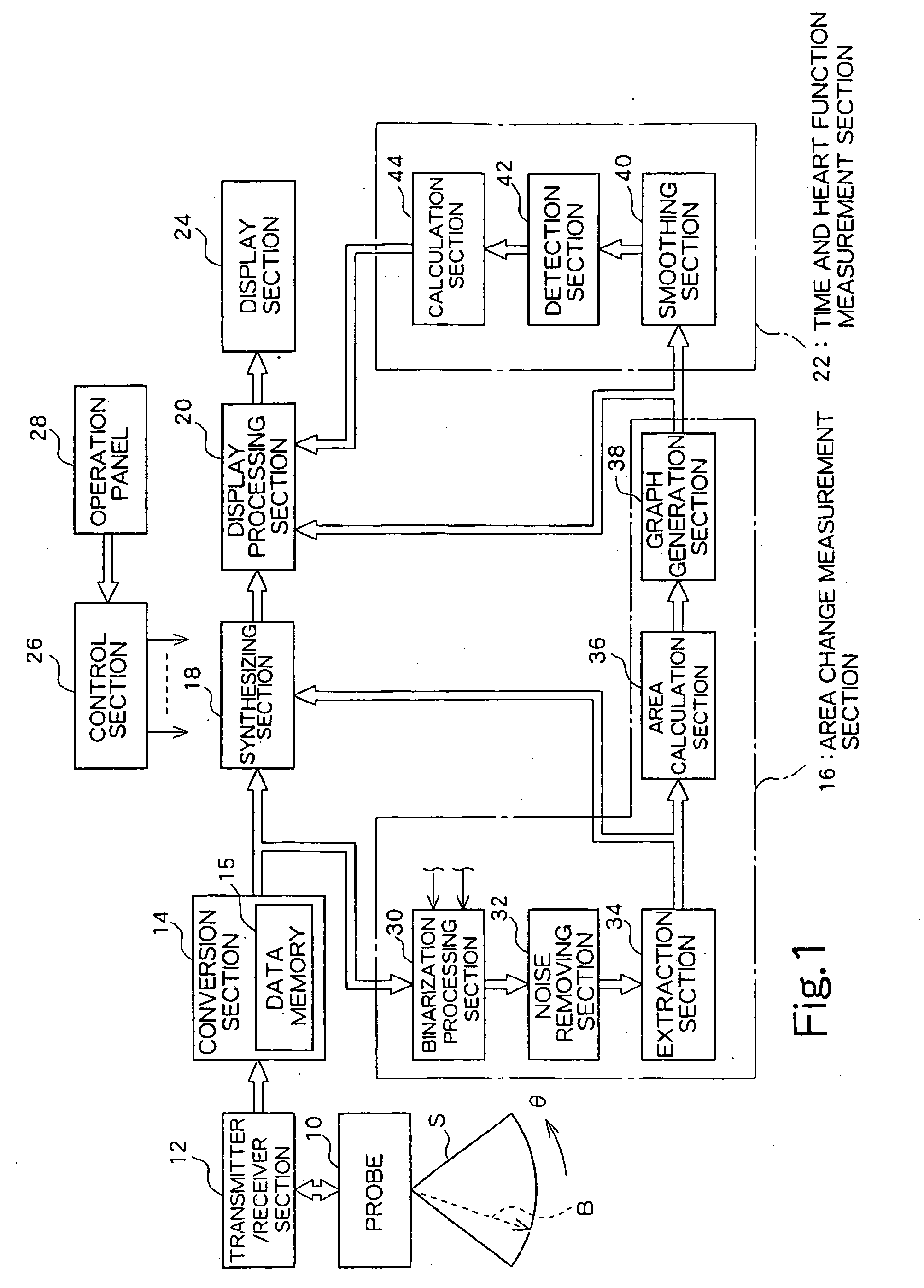
标题:
Ultrasound diagnosis apparatus and method of processing ultrasound data
授权日:
2011-08-17
公开(公告)号:
EP1875867B1
申请日:
2007-06-26
公开(公告)日:
2011-08-17
当前申请(专利权)人:
HITACHI ALOKA MEDICAL, LTD.
发明人:
MURASHITA, MASARU
简单同族:
EP1875867A1 | EP1875867B1 | JP2008012047A | JP4206107B2 | US20080009735A1 | US7981037
简单同族成员数量:
6
简单同族被引用专利总数:
45
诉讼案件数:
0
法律状态/事件:
权利终止 | 权利转移