首页
专利数据库
产业人才
行业动态
产业政策法规
维权援助
个人中心
登录/注册
详情
文本
图像
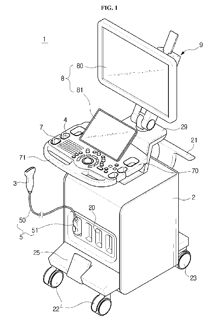
标题:
Ultrasonic imaging device and moving unit applied to the same
授权日:
1900-01-01
公开(公告)号:
EP3097857A1
申请日:
2015-09-10
公开(公告)日:
2016-11-30
当前申请(专利权)人:
SAMSUNG MEDISON CO., LTD.
发明人:
WOO, KYEONG GU | KIM, YEON-HO | JO, JAE MOON | JIN, GIL-JU
简单同族:
EP3097857A1 | KR1020160139980A | US20160345935A1
简单同族成员数量:
3
简单同族被引用专利总数:
0
诉讼案件数:
0
法律状态/事件:
实质审查