标题:
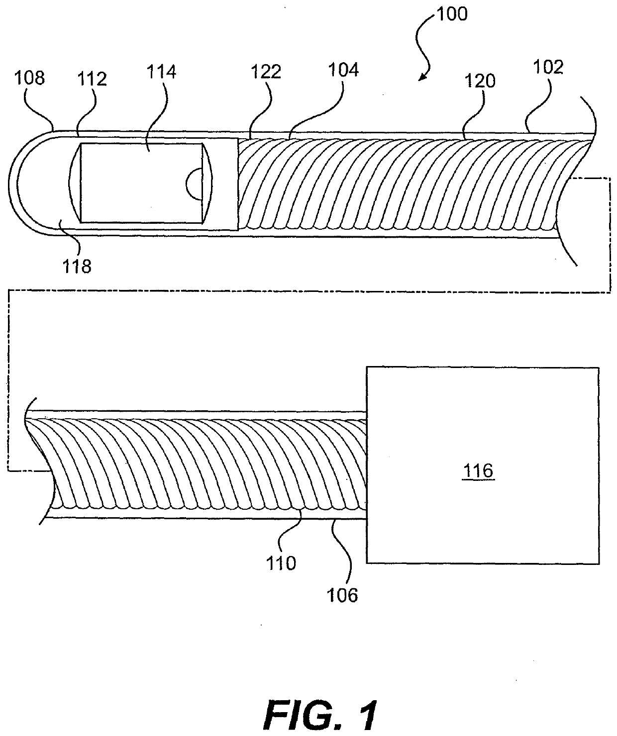
Rotational intravascular ultrasound probe and method of manufacturing the same
授权日:
2020-02-12
公开(公告)号:
EP2378977B1
申请日:
2009-12-18
公开(公告)日:
2020-02-12
当前申请(专利权)人:
VOLCANO CORPORATION
发明人:
DAVIES, STEPHEN, CHARLES | HOSSACK, NORMAN | SMITH, PETER, HOWARD
简单同族:
EP2378977A2 | EP2378977A4 | EP2378977B1 | JP2012512719A | JP2012512719A5 | JP5631891B2 | US10575819 | US20100160788A1 | US20130281864A1 | US20200187904A1 | US8465686 | WO2010080615A2 | WO2010080615A3
简单同族成员数量:
13
简单同族被引用专利总数:
68
诉讼案件数:
0
法律状态/事件:
授权