首页
专利数据库
产业人才
行业动态
产业政策法规
维权援助
个人中心
登录/注册
详情
文本
图像
标题:
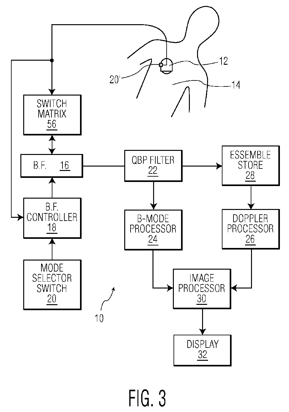
Dual mode ultrasound system
授权日:
1900-01-01
公开(公告)号:
EP2237070A1
申请日:
2008-08-27
公开(公告)日:
2010-10-06
当前申请(专利权)人:
KONINKLIJKE PHILIPS ELECTRONICS N.V.
发明人:
ADAMS, DARWIN
简单同族:
AT549641T | CN101903796A | CN101903796B | EP2198322A2 | EP2237070A1 | EP2237070B1 | JP2010537700A | US20110046484A1 | US8551004 | WO2009031079A2 | WO2009031079A3
简单同族成员数量:
11
简单同族被引用专利总数:
22
诉讼案件数:
0
法律状态/事件:
授权