首页
专利数据库
产业人才
行业动态
产业政策法规
维权援助
个人中心
登录/注册
详情
文本
图像
标题:
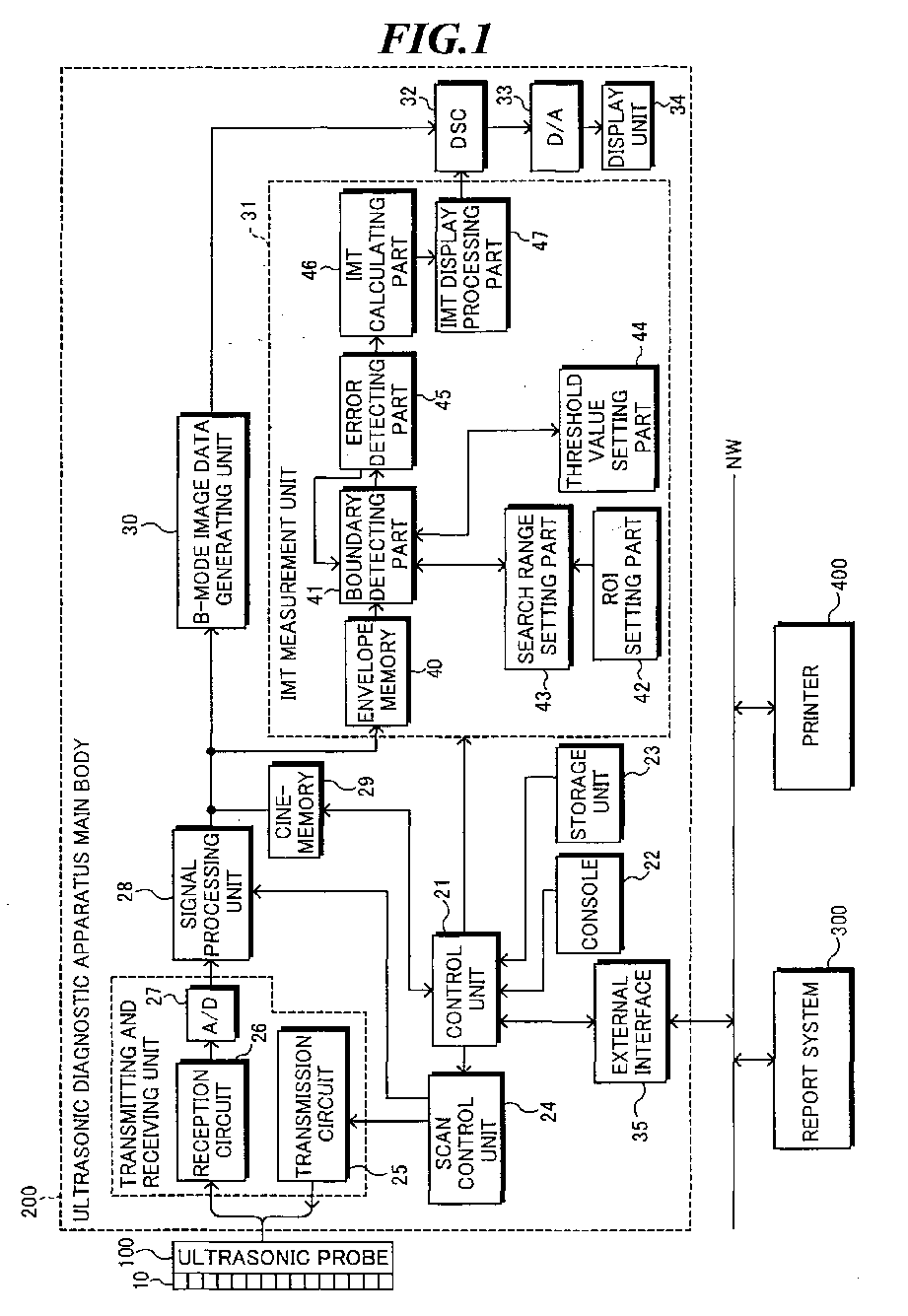
Ultrasonic diagnostic apparatus, IMT measurement method, and IMT measurement program
授权日:
1900-01-01
公开(公告)号:
EP1943953A3
申请日:
2008-01-11
公开(公告)日:
2010-08-18
当前申请(专利权)人:
FUJIFILM CORPORATION
发明人:
ISHIHARA, KEITAROU
简单同族:
EP1943953A2 | EP1943953A3 | EP1943953B1 | JP2008168016A | JP2008168016A5 | JP5230106B2 | US20080171939A1 | US7959572
简单同族成员数量:
8
简单同族被引用专利总数:
73
诉讼案件数:
0
法律状态/事件:
授权