首页
专利数据库
产业人才
行业动态
产业政策法规
维权援助
个人中心
登录/注册
详情
文本
图像
标题:
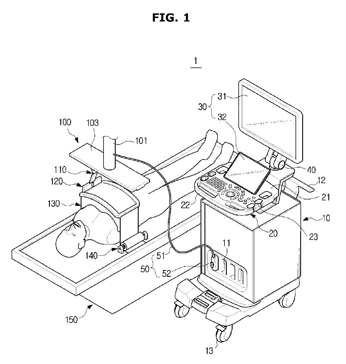
Ultrasonic imaging apparatus
授权日:
1900-01-01
公开(公告)号:
EP3517042A1
申请日:
2019-01-07
公开(公告)日:
2019-07-31
当前申请(专利权)人:
SAMSUNG MEDISON CO., LTD.
发明人:
CHOI, JIN HO
简单同族:
EP3517042A1 | KR1020190084724A | US20190209129A1
简单同族成员数量:
3
简单同族被引用专利总数:
0
诉讼案件数:
0
法律状态/事件:
公开