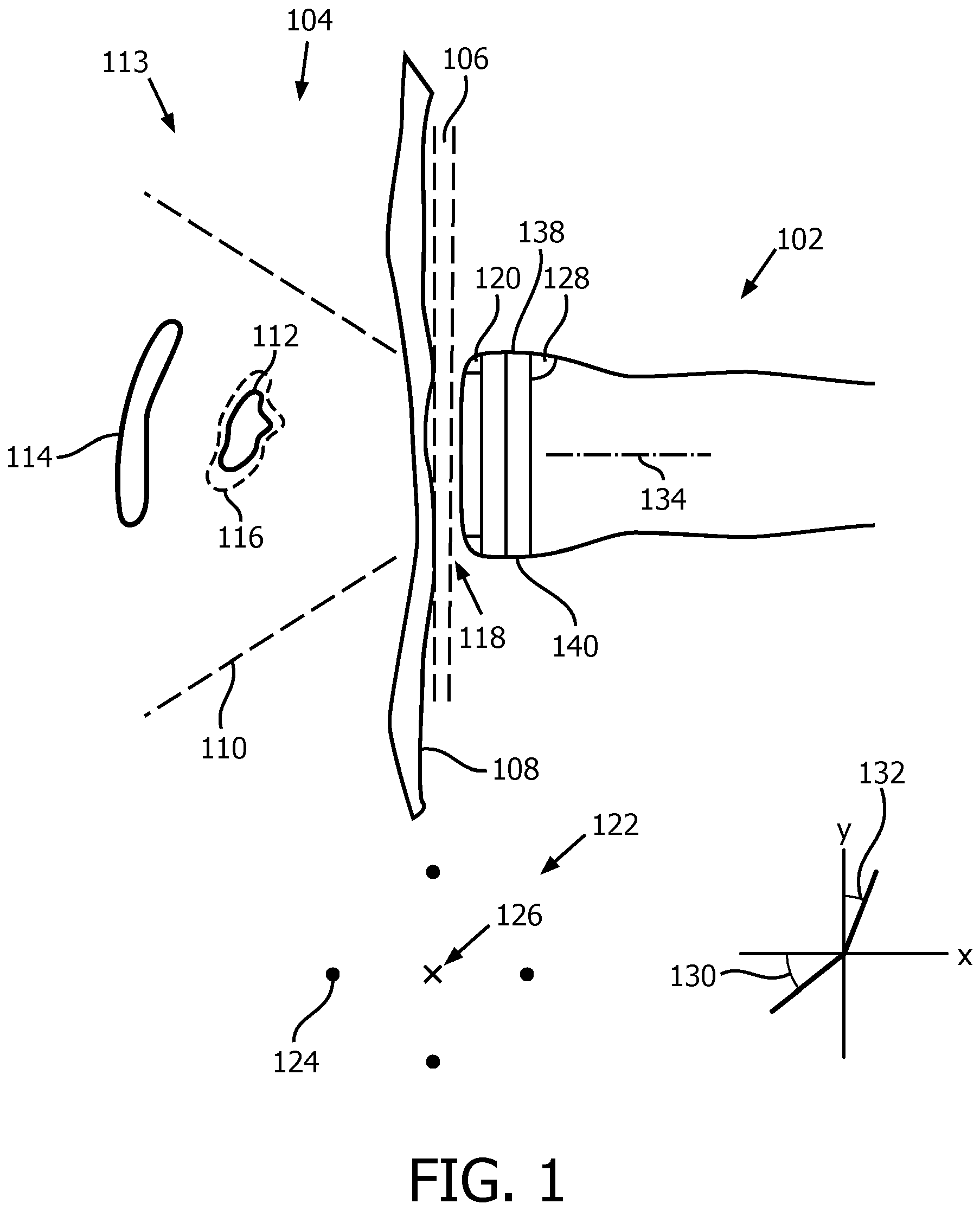
标题:
Consistent sequential ultrasound acquisitions for intra-cranial monitoring
授权日:
2017-05-03
公开(公告)号:
EP2996561B1
申请日:
2014-02-25
公开(公告)日:
2017-05-03
当前申请(专利权)人:
KONINKLIJKE PHILIPS N.V.
发明人:
RAJU, BALASUNDAR, IYYAVU | SHI, WILLIAM, TAO | VIGNON, FRANCOIS, GUY, GERARD, MARIE
简单同族:
CN105025804A | CN105025804B | EP2996561A1 | EP2996561B1 | JP2016508813A | JP6268196B2 | US10034658 | US20160000411A1 | WO2014136016A1
简单同族成员数量:
9
简单同族被引用专利总数:
23
诉讼案件数:
0
法律状态/事件:
授权